ГОСТ Р 52862-2007 Методы испытаний на стойкость к механическим внешним воздействующим факторам машин, приборов и других технических изделий. Испытания на воздействие акустического шума (вибрация, акустическая составляющая)
ГОСТ Р
Скачать ГОСТ в PDF или DOC бесплатно
Основная информация
Обозначение:
ГОСТ Р 52862-2007
Статус:
Отменен
Тип:
ГОСТ Р
Название русское:
Методы испытаний на стойкость к механическим внешним воздействующим факторам машин, приборов и других технических изделий. Испытания на воздействие акустического шума (вибрация, акустическая составляющая)
Название английское:
Mechanical environment stability test methods for machines, instruments and other industrial products. Test methods for acoustic noise (vibration, acoustic component)
Даты и сроки
Дата издания:
10-17-08
Дата введения в действие:
07-01-08
Дата завершения срока действия:
01-01-15
Применение и описание
Область и условия применения:
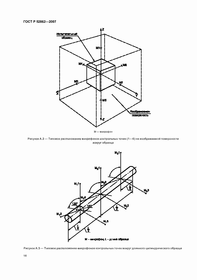
Настоящий стандарт распространяется на машины, приборы и другие технические изделия всех видов и устанавливает методы их испытаний на воздействие акустического шума (акустической составляющей воздействия вибрации), в том числе на соответствие требованиям по данному воздействию, установленному в нормативных документах на изделия (в частности требованиям по ГОСТ 30631). Стандарт применяют также для проведения исследовательских испытаний по определению стойкости изделий или их деталей и узлов к воздействию акустического шума. Стандарт применяют совместно с ГОСТ 30630.0.0
Связи и замены
Заменяющий:
-
Изменения и переиздания
Список изменений:
№0 от (рег. ) «Текстовое изменение; Изменено заглавие»
Описание стандарта
ГОСТ Р 52862-2007 Методы испытаний на стойкость к механическим внешним воздействующим факторам машин, приборов и других технических изделий. Испытания на воздействие акустического шума (вибрация, акустическая составляющая)
Страницы стандарта


























