ГОСТ 17410-78 Контроль неразрушающий. Трубы металлические бесшовные цилиндрические. Методы ультразвуковой дефектоскопии
ГОСТ
Скачать ГОСТ в PDF или DOC бесплатно
Основная информация
Обозначение:
ГОСТ 17410-78
Статус:
Заменен
Тип:
ГОСТ
Название русское:
Контроль неразрушающий. Трубы металлические бесшовные цилиндрические. Методы ультразвуковой дефектоскопии
Название английское:
Non-destructive testing. Metal seamless cylindrical pipes and tubes. Ultrasonic methods of defekt detection
Даты и сроки
Дата издания:
10-26-10
Дата введения в действие:
01-01-80
Дата завершения срока действия:
08-01-22
Применение и описание
Область и условия применения:
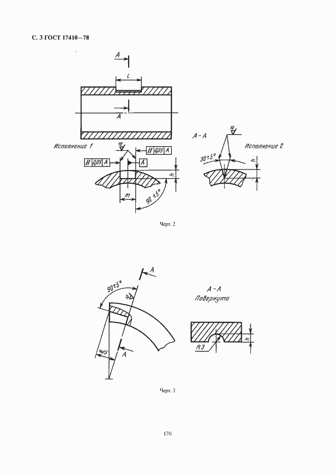
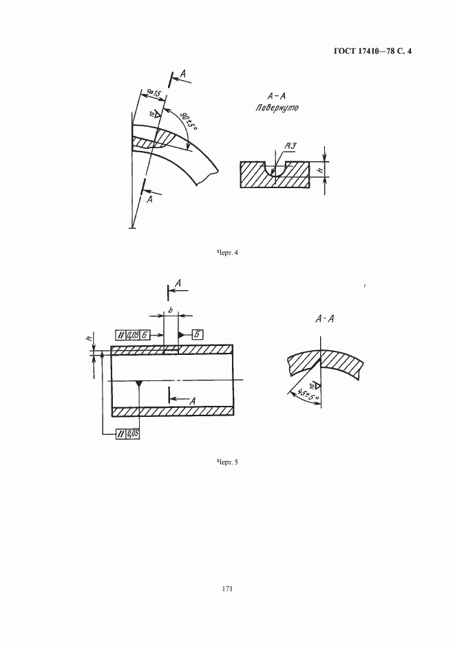
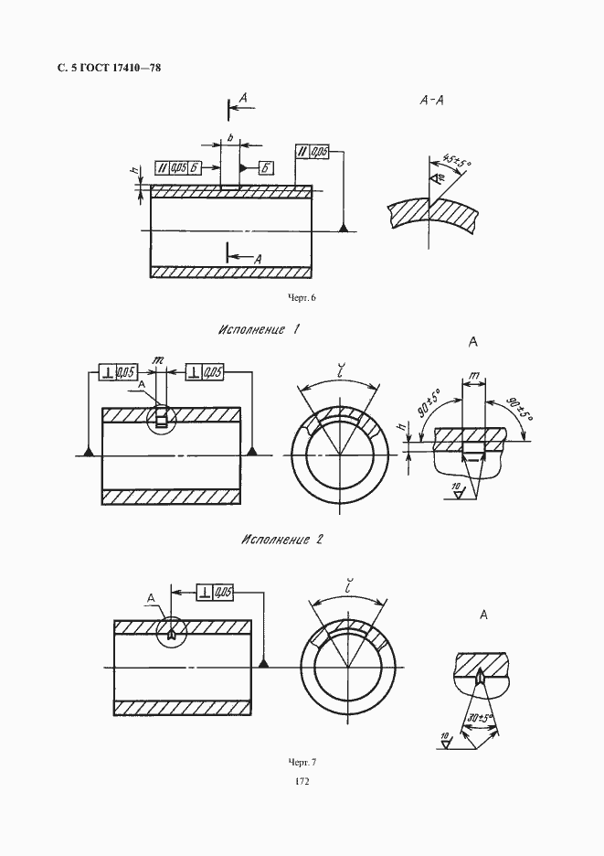
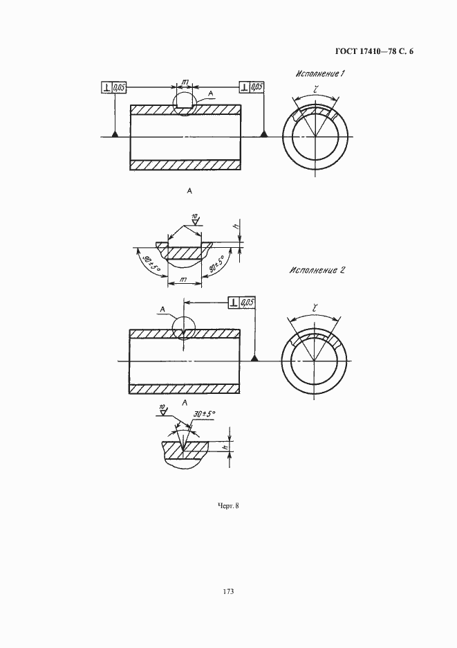
Настоящий стандарт распространяется на прямые металлические однослойные бесшовные цилиндрические трубы, изготовленные из черных и цветных металлов и сплавов, и устанавливает методы ультразвуковой дефектоскопии сплошности металла труб для выявления различных дефектов (типа нарушения сплошности и однородности металла), расположенных на наружной и внутренней поверхностях, а также в толще стенок труб и обнаруживаемых ультразвуковой дефектоскопической аппаратурой. Действительные размеры дефектов, их форма и характер настоящим стандартом не устанавливаются. Необходимость проведения ультразвукового контроля, объем его и нормы недопустимых дефектов должны определяться в стандартах или технических условиях на трубы
Связи и замены
Заменяющий:
ГОСТ 17410-2022
Взамен:
ГОСТ 17410-72
Изменения и переиздания
Список изменений:
№1 от (рег. ) «Срок действия продлен» №2 от (рег. ) «Срок действия продлен»
Описание стандарта
ГОСТ 17410-78 Контроль неразрушающий. Трубы металлические бесшовные цилиндрические. Методы ультразвуковой дефектоскопии
Страницы стандарта























