ГОСТ Р ИСО 4759-1-2009 Изделия крепежные. Допуски. Часть 1. Болты, винты, шпильки и гайки. Классы точности А, В и С
ГОСТ Р ИСО
Скачать ГОСТ в PDF или DOC бесплатно
Основная информация
Обозначение:
ГОСТ Р ИСО 4759-1-2009
Статус:
Отменен
Тип:
ГОСТ Р ИСО
Название русское:
Изделия крепежные. Допуски. Часть 1. Болты, винты, шпильки и гайки. Классы точности А, В и С
Название английское:
Tolerances for fasteners. Part 1: bolts, screws, studs and nuts. Product grades A, B and C
Даты и сроки
Дата издания:
08-23-10
Дата введения в действие:
01-01-11
Дата завершения срока действия:
01-01-18
Применение и описание
Область и условия применения:
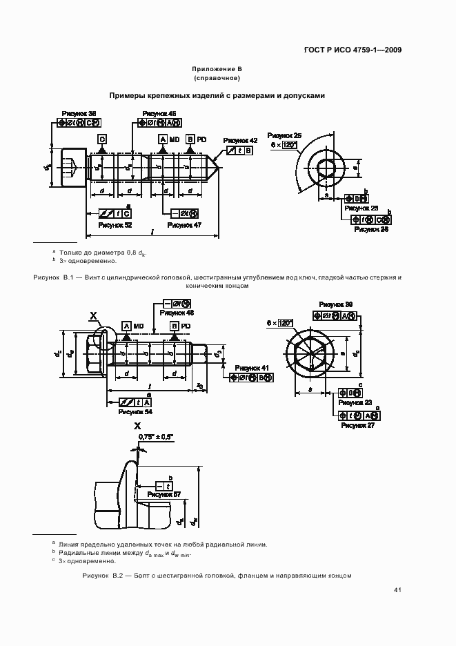
Настоящий стандарт устанавливает допуски для болтов, винтов, шпилек и гаек с метрической резьбой ИСО классов точности А, В и С , а также для самонарезающих винтов класса точности А. Примечание - Класс точности изделия определяется величиной допусков, при этом класс А является наиболее точным, а класс С – наименее точным. Допуски, за исключением допусков на резьбу, выбираются из допусков и посадок по системе ИСО, установленной в ИСО 286-1 и ИСО 286-2. Допуски на метрическую резьбу выбираются из серии полей допусков, установленных в ИСО 965-3. Допуски на резьбу самонарезающих винтов приведены в ИСО 1478. Допуски формы и расположения поверхностей устанавливаются и указываются в соответствии с ИСО 1101, ИСО 8015 и ИСО 2692. Допуски, установленные в настоящем стандарте, применяются к крепежным изделиям до нанесения на них покрытия, если не оговорено иное. См. также ИСО 4042. Отступления от допусков, установленных в настоящем стандарте, допускается в стандартах на изделия, только в обоснованных случаях. Если имеет место расхождение между требованиями к допускам настоящего стандарта и стандарта на изделие, предпочтение отдается стандарту на изделие. Рекомендуется использовать эти допуски также для нестандартных крепежных изделий. Размеры и допуски, установленные в настоящем стандарте, указаны в миллиметрах
Связи и замены
Заменяющий:
-
Изменения и переиздания
Список изменений:
№0 от (рег. ) «Текстовое изменение; Изменено заглавие»
Описание стандарта
ГОСТ Р ИСО 4759-1-2009 Изделия крепежные. Допуски. Часть 1. Болты, винты, шпильки и гайки. Классы точности А, В и С
Страницы стандарта

























































