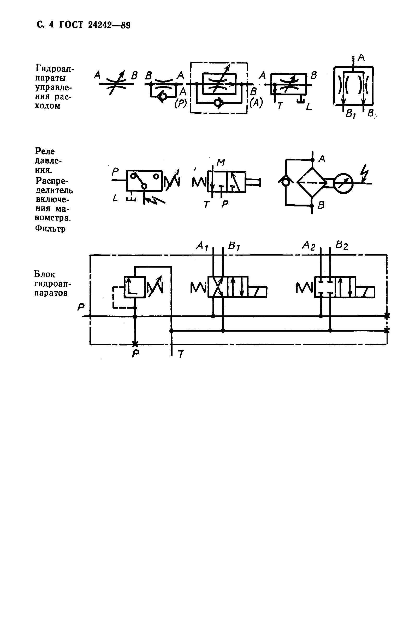
ГОСТ 24242-89 Гидроприводы объемные. Буквенные обозначения присоединительных отверстий гидроустройств
ГОСТ
Скачать ГОСТ в PDF или DOC бесплатно
Основная информация
Обозначение:
ГОСТ 24242-89
Статус:
Заменен
Тип:
ГОСТ
Название русское:
Гидроприводы объемные. Буквенные обозначения присоединительных отверстий гидроустройств
Название английское:
Hydraulic fluid power. Loter designation of connecting ports of hydraulic eguipment
Даты и сроки
Дата издания:
06-14-89
Дата введения в действие:
01-01-90
Дата завершения срока действия:
01-01-02
Связи и замены
Заменяющий:
ГОСТ 24242-97
Взамен:
ГОСТ 24242-80
Описание стандарта
ГОСТ 24242-89 Гидроприводы объемные. Буквенные обозначения присоединительных отверстий гидроустройств
Страницы стандарта






