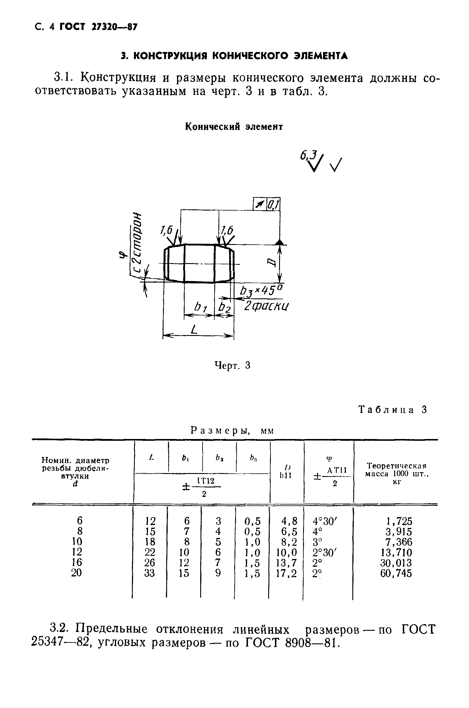
ГОСТ 27320-87 Дюбели-втулки распорные для строительства. Конструкция
ГОСТ
Скачать ГОСТ в PDF или DOC бесплатно
Основная информация
Обозначение:
ГОСТ 27320-87
Статус:
Утратил силу в РФ
Тип:
ГОСТ
Название русское:
Дюбели-втулки распорные для строительства. Конструкция
Название английское:
Expansive bolts. Construction
Даты и сроки
Дата издания:
09-02-87
Дата введения в действие:
01-01-88
Дата завершения срока действия:
07-01-95
Связи и замены
Заменяющий:
-
Изменения и переиздания
Список изменений:
№0 от (рег. ) «Поправка к изменению»
Описание стандарта
ГОСТ 27320-87 Дюбели-втулки распорные для строительства. Конструкция
Страницы стандарта










