ГОСТ 13219.15-81 Крышки торцовые с канавками высокие диаметром от 47 до 100 мм корпусов подшипников качения. Конструкция и размеры
ГОСТ
Скачать ГОСТ в PDF или DOC бесплатно
Основная информация
Обозначение:
ГОСТ 13219.15-81
Статус:
Действует
Тип:
ГОСТ
Название русское:
Крышки торцовые с канавками высокие диаметром от 47 до 100 мм корпусов подшипников качения. Конструкция и размеры
Название английское:
Hign cups with grooves for fat, diameters from 47 till 100 mm of pillow blocks. Construction and dimensions
Даты и сроки
Дата издания:
09-23-81
Дата введения в действие:
01-01-82
Дата завершения срока действия:
-
Применение и описание
Область и условия применения:
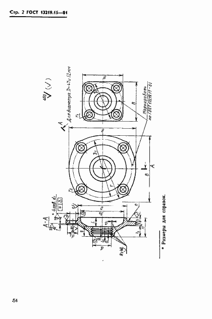
Настоящий стандарт распространяется на высокие торцовые крышки с канавками, устанавливаемые в корпусах подшипников качения и предназначенные для герметизации подшипникового узла, осевой фиксации подшипника и восприятия осевых нагрузок
Связи и замены
Заменяющий:
-
Взамен:
ГОСТ 13219.15-67
Описание стандарта
ГОСТ 13219.15-81 Крышки торцовые с канавками высокие диаметром от 47 до 100 мм корпусов подшипников качения. Конструкция и размеры
Страницы стандарта


