ГОСТ 24696-81 Подшипники роликовые радиальные сферические двухрядные с симметричными роликами. Основные размеры
ГОСТ
Скачать ГОСТ в PDF или DOC бесплатно
Основная информация
Обозначение:
ГОСТ 24696-81
Статус:
Действует
Тип:
ГОСТ
Название русское:
Подшипники роликовые радиальные сферические двухрядные с симметричными роликами. Основные размеры
Название английское:
Spherical double-row radial roller bearings with symmetrical rollers. Basic dimensions
Даты и сроки
Дата издания:
04-01-91
Дата введения в действие:
06-30-82
Дата завершения срока действия:
10-01-23
Применение и описание
Область и условия применения:
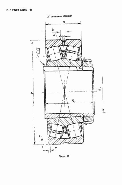
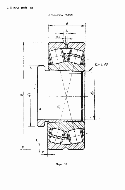
Настоящий стандарт распространяется на подшипники роликовые радиальные сферические двухрядные с симметричными роликами и безбортовым внутренним кольцом
Связи и замены
Заменяющий:
-
Изменения и переиздания
Список изменений:
№0 от (рег. ) «Срок действия продлен» №0 от (рег. ) «Срок действия продлен» №1 от (рег. ) «Срок действия продлен»
Описание стандарта
ГОСТ 24696-81 Подшипники роликовые радиальные сферические двухрядные с симметричными роликами. Основные размеры
Страницы стандарта





















