ГОСТ 25256-82 Подшипники качения. Допуски. Термины и определения
ГОСТ
Скачать ГОСТ в PDF или DOC бесплатно
Основная информация
Обозначение:
ГОСТ 25256-82
Статус:
Заменен
Тип:
ГОСТ
Название русское:
Подшипники качения. Допуски. Термины и определения
Название английское:
Rolling bearings. Tolerances. Terms and definitions
Даты и сроки
Дата издания:
07-08-82
Дата введения в действие:
06-30-83
Дата завершения срока действия:
01-01-15
Применение и описание
Область и условия применения:
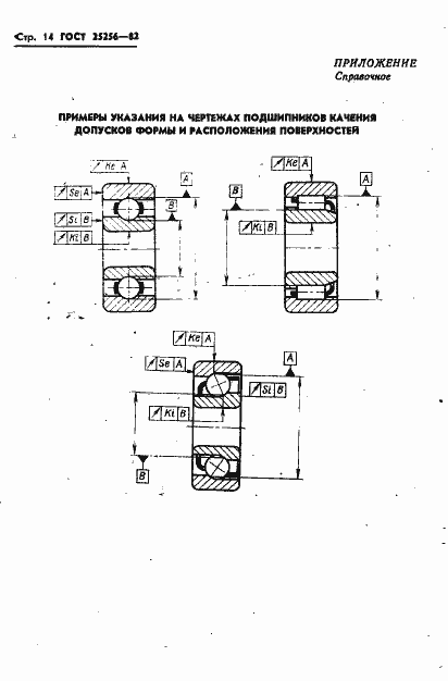
Настоящий стандарт устанавливает применяемые в науке и технике термины и определения основных понятий в области допусков на подшипники качения, их детали и отдельные элементы
Связи и замены
Заменяющий:
ГОСТ 25256-2013
Описание стандарта
ГОСТ 25256-82 Подшипники качения. Допуски. Термины и определения
Страницы стандарта



















