ГОСТ ИСО 12307-1-96 Подшипники скольжения. Свертные втулки. Контроль наружного диаметра
ГОСТ ИСО
Скачать ГОСТ в PDF или DOC бесплатно
Основная информация
Обозначение:
ГОСТ ИСО 12307-1-96
Статус:
Действует
Тип:
ГОСТ ИСО
Название русское:
Подшипники скольжения. Свертные втулки. Контроль наружного диаметра
Название английское:
Plain bearings. Wrapped bushes. Checking the outside diameter
Даты и сроки
Дата регистрации:
10-04-96
Дата издания:
11-12-97
Дата введения в действие:
01-01-98
Дата завершения срока действия:
-
Применение и описание
Область и условия применения:
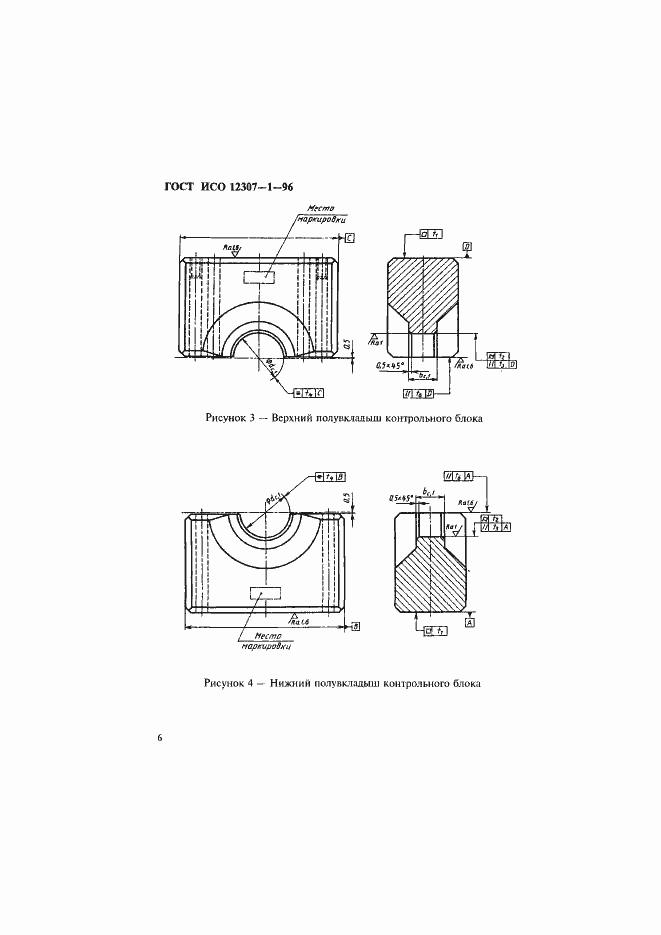
Настоящий стандарт распространяется на свертные втулки по ГОСТ 27672 и устанавливает методы контроля наружного диаметра свертных втулок и требования к используемому измерительному оборудованию в соответствии с ГОСТ ИСО 12301. Стандарт представляет собой полный аутентичный текст международного стандарта ИСО 12307-1-93
Связи и замены
Заменяющий:
-
Описание стандарта
ГОСТ ИСО 12307-1-96 Подшипники скольжения. Свертные втулки. Контроль наружного диаметра
Страницы стандарта






















