ГОСТ 23106-78 Муфты продольно-свертные. Основные параметры. Конструкция и размеры
ГОСТ
Скачать ГОСТ в PDF или DOC бесплатно
Основная информация
Обозначение:
ГОСТ 23106-78
Статус:
Действует только в РФ
Тип:
ГОСТ
Название русское:
Муфты продольно-свертные. Основные параметры. Конструкция и размеры
Название английское:
Longitudinal screw cap couplings. Basic parameters. Design and dimensions
Даты и сроки
Дата издания:
06-01-80
Дата введения в действие:
01-01-79
Дата завершения срока действия:
-
Применение и описание
Область и условия применения:
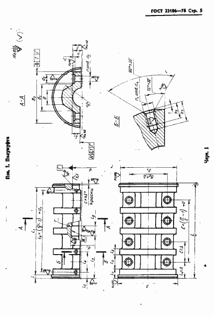
Настоящий стандарт распространяется на муфты продольно-свертные для соединения цилиндрических валов по ГОСТ 12080-66 при передаче крутящего момента от 125 до 12500 Нюм без смягчения динамических нагрузок и компенсации смещений, климатических исполнений У и Т и категорий 1, 2, 3 и климатических исполнений УХЛ и О категории 4 по ГОСТ 15150-69
Связи и замены
Заменяющий:
-
Взамен:
МН 2600-61;МН 2601-61
Изменения и переиздания
Список изменений:
№1 от (рег. ) «Срок действия продлен» №2 от (рег. ) «Срок действия продлен»
Описание стандарта
ГОСТ 23106-78 Муфты продольно-свертные. Основные параметры. Конструкция и размеры
Страницы стандарта




















