ГОСТ 8790-79 Основные нормы взаимозаменяемости. Соединения шпоночные с призматическими направляющими шпонками с креплением на валу. Размеры шпонок и сечений пазов. Допуски и посадки
ГОСТ
Скачать ГОСТ в PDF или DOC бесплатно
Основная информация
Обозначение:
ГОСТ 8790-79
Статус:
Действует
Тип:
ГОСТ
Название русское:
Основные нормы взаимозаменяемости. Соединения шпоночные с призматическими направляющими шпонками с креплением на валу. Размеры шпонок и сечений пазов. Допуски и посадки
Название английское:
Rectangular parallel keys with screwing on the shafts. Dimensions
Даты и сроки
Дата издания:
08-01-84
Дата введения в действие:
01-01-81
Дата завершения срока действия:
-
Применение и описание
Область и условия применения:
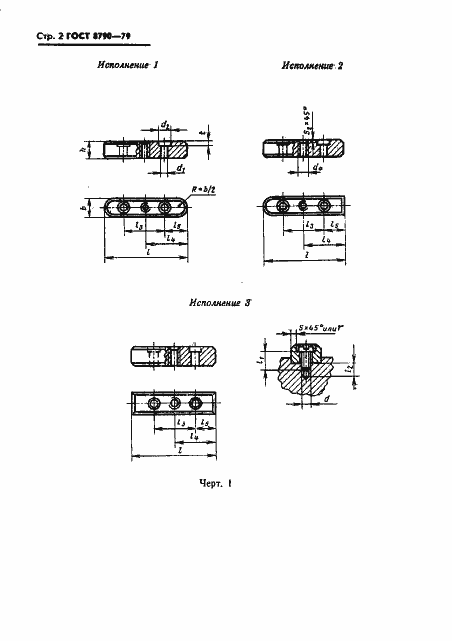
Настоящий стандарт распространяется на шпоночные соединения с призматическими направляющими шпонками и креплением на валу и устанавливает размеры и предельные отклонения призматических направляющих шпонок и соответствующих им шпоночных пазов на валах и во втулках
Связи и замены
Заменяющий:
-
Взамен:
ГОСТ 8790-68
Изменения и переиздания
Список изменений:
№1 от (рег. ) «Срок действия продлен» №2 от (рег. ) «Срок действия продлен»
Описание стандарта
ГОСТ 8790-79 Основные нормы взаимозаменяемости. Соединения шпоночные с призматическими направляющими шпонками с креплением на валу. Размеры шпонок и сечений пазов. Допуски и посадки
Страницы стандарта












