ГОСТ 21424-75 Муфты упругие втулочно-пальцевые. Основные параметры. Габаритные и присоединительные размеры
ГОСТ
Скачать ГОСТ в PDF или DOC бесплатно
Основная информация
Обозначение:
ГОСТ 21424-75
Статус:
Заменен
Тип:
ГОСТ
Название русское:
Муфты упругие втулочно-пальцевые. Основные параметры. Габаритные и присоединительные размеры
Название английское:
Pin flexible couplings. Main data. Overall and coupling. Dimensions
Даты и сроки
Дата введения в действие:
08-31-77
Дата завершения срока действия:
07-01-96
Применение и описание
Область и условия применения:
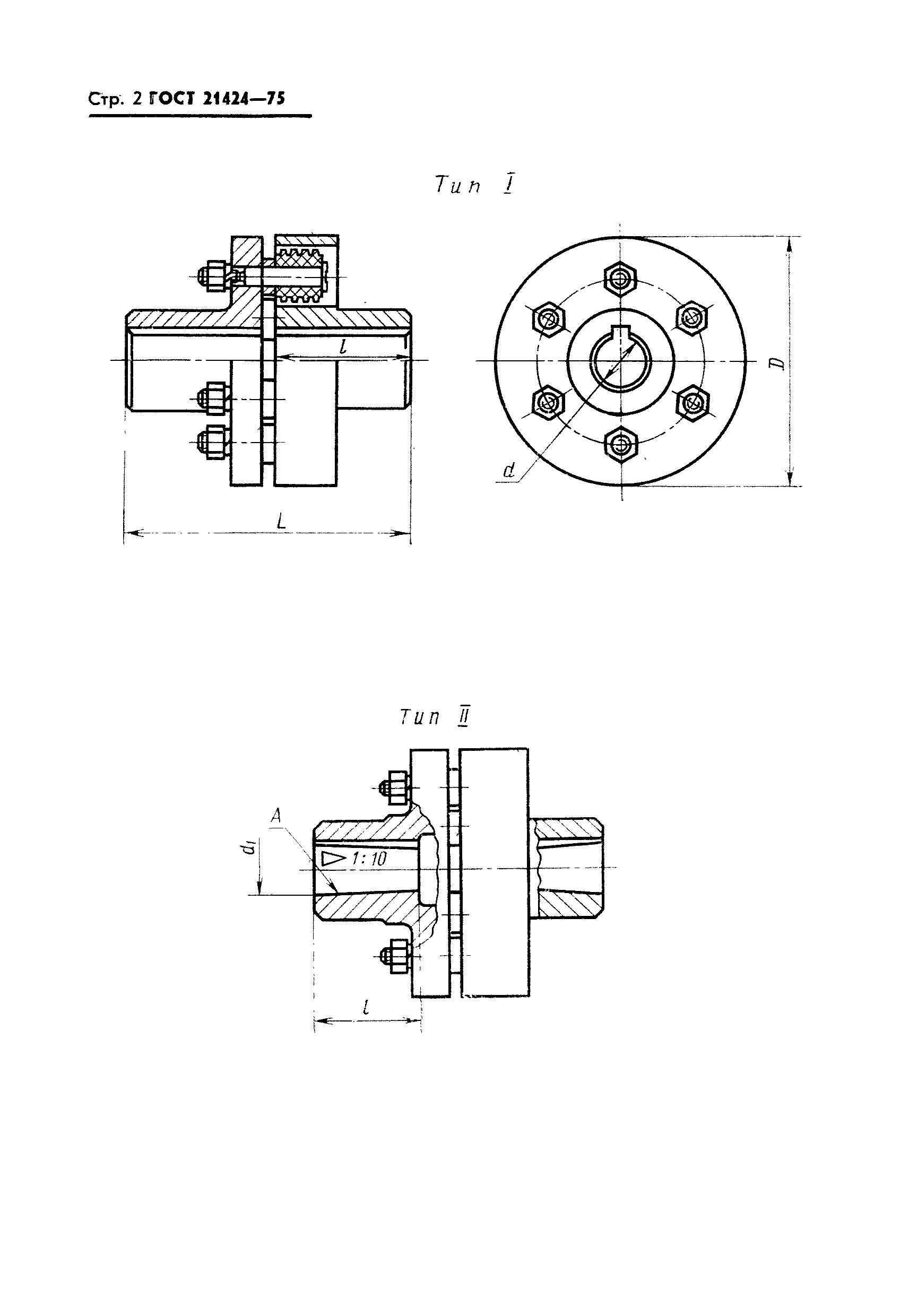
Настоящий стандарт распространяется на упругие втулочно-пальцевые муфты общемашиностроительного применения, предназначенные для соединения соосных валов при передаче крутящего момента от 6,3 до 16000 Н*м и уменьшения динамических нагрузок в климатических исполнениях У и Т для категорий 1-3, климатических исполнениях УХЛ и О для категории 4 по ГОСТ 15150-69.
Связи и замены
Заменяющий:
ГОСТ 21424-93
Изменения и переиздания
Список изменений:
№0 от (рег. ) «Срок действия продлен» №2 от (рег. ) «Срок действия продлен» №3 от (рег. ) «Срок действия продлен»
Описание стандарта
ГОСТ 21424-75 Муфты упругие втулочно-пальцевые. Основные параметры. Габаритные и присоединительные размеры
Страницы стандарта









