ГОСТ 5147-80 Муфты шарнирные. Основные параметры. Конструкция и размеры
ГОСТ
Скачать ГОСТ в PDF или DOC бесплатно
Основная информация
Обозначение:
ГОСТ 5147-80
Статус:
Заменен
Тип:
ГОСТ
Название русское:
Муфты шарнирные. Основные параметры. Конструкция и размеры
Название английское:
Joint clutches. Basic parameters. Design and dimensions
Даты и сроки
Дата издания:
12-01-92
Дата введения в действие:
06-30-81
Дата завершения срока действия:
01-01-02
Применение и описание
Область и условия применения:
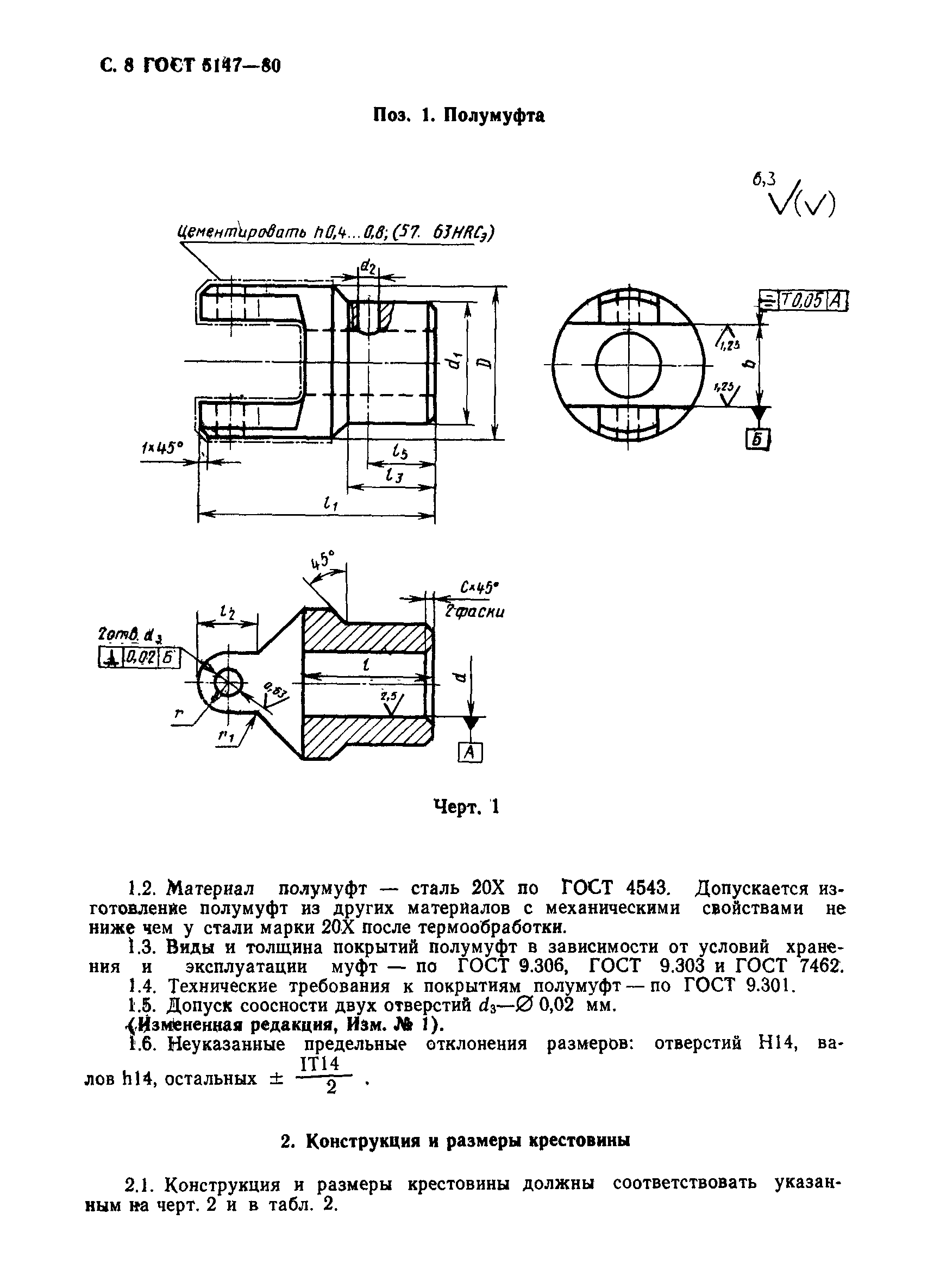
Настоящий стандарт распространяется на малогабаритные шарнирные муфты общемашиностроительного применения, предназначенные для соединения цилиндрических валов, которые устанавливают под углом до 45 град. при передаче крутящего момента от 11,2 до 1120 Н.м без смягчения динамических нагрузок, климатических исполнений У и Т для категорий 1-3, климатических исполнений УХЛ и О для категории 4 по ГОСТ 15150
Связи и замены
Заменяющий:
ГОСТ 5147-97
Взамен:
ГОСТ 5147-69
Изменения и переиздания
Список изменений:
№1 от (рег. ) «Срок действия продлен» №2 от (рег. ) «Срок действия продлен» №3 от (рег. ) «Срок действия продлен»
Описание стандарта
ГОСТ 5147-80 Муфты шарнирные. Основные параметры. Конструкция и размеры
Страницы стандарта
















