ГОСТ 24038-90 Материалы асбестополимерные листовые уплотнительные. Метод определения сжимаемости и восстанавливаемости
ГОСТ
Скачать ГОСТ в PDF или DOC бесплатно
Основная информация
Обозначение:
ГОСТ 24038-90
Статус:
Действует
Тип:
ГОСТ
Название русское:
Материалы асбестополимерные листовые уплотнительные. Метод определения сжимаемости и восстанавливаемости
Название английское:
Asbestos-polymer seal sheet materials. Method of test for compressibility and recoverability
Даты и сроки
Дата издания:
04-04-91
Дата введения в действие:
01-01-92
Дата завершения срока действия:
-
Применение и описание
Область и условия применения:
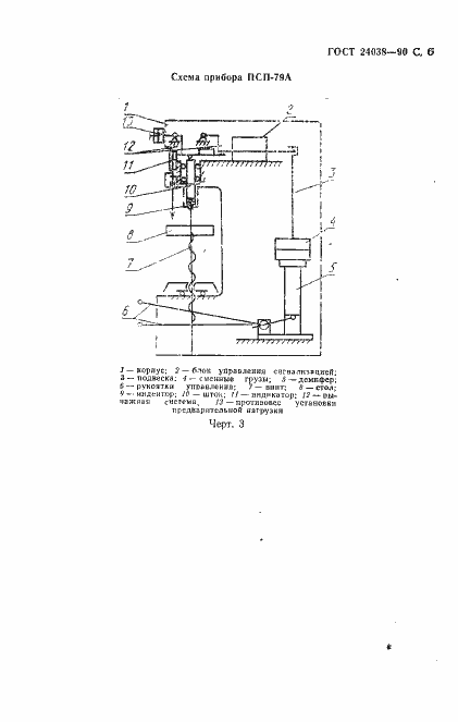
Настоящий стандарт устанавливает метод определения сжимаемости и восстанавливаемости асбестополимерных листовых уплотнительных материалов
Связи и замены
Заменяющий:
-
Взамен:
ГОСТ 24038-80
Описание стандарта
ГОСТ 24038-90 Материалы асбестополимерные листовые уплотнительные. Метод определения сжимаемости и восстанавливаемости
Страницы стандарта







