ГОСТ 13941-86 Кольца пружинные упорные плоские внутренние концентрические и канавки для них. Конструкция и размеры
ГОСТ
Скачать ГОСТ в PDF или DOC бесплатно
Основная информация
Обозначение:
ГОСТ 13941-86
Статус:
Действует
Тип:
ГОСТ
Название русское:
Кольца пружинные упорные плоские внутренние концентрические и канавки для них. Конструкция и размеры
Название английское:
Retaining spring concentric rings for bores and grooves for them. Dimensions
Даты и сроки
Дата издания:
09-01-88
Дата введения в действие:
01-01-88
Дата завершения срока действия:
-
Применение и описание
Область и условия применения:
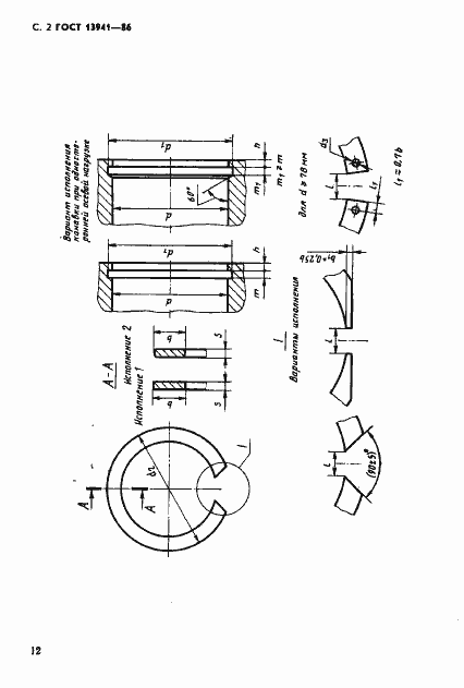
Настоящий стандарт распространяется на пружинные упорные плоские внутренние концентрические кольца классов точности А, В и С и канавки для них, предназначенные для закрепления от осевого смещения подшипников качения и других деталей в отверстиях диаметром от 8 до 320 мм.
Связи и замены
Заменяющий:
-
Взамен:
ГОСТ 13941-68
Изменения и переиздания
Список изменений:
№1 от (рег. ) «Срок действия продлен»
Описание стандарта
ГОСТ 13941-86 Кольца пружинные упорные плоские внутренние концентрические и канавки для них. Конструкция и размеры
Страницы стандарта









