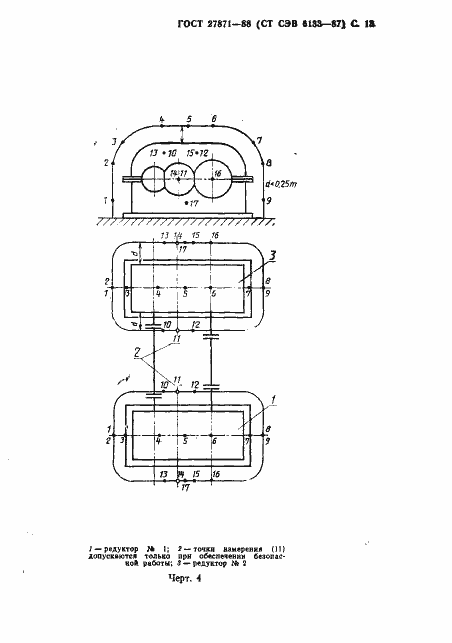
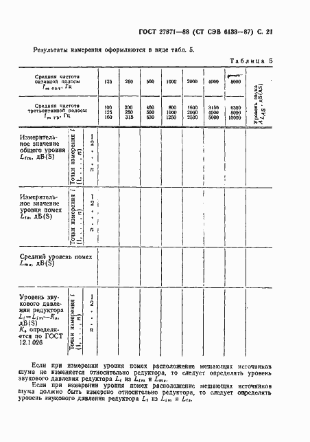
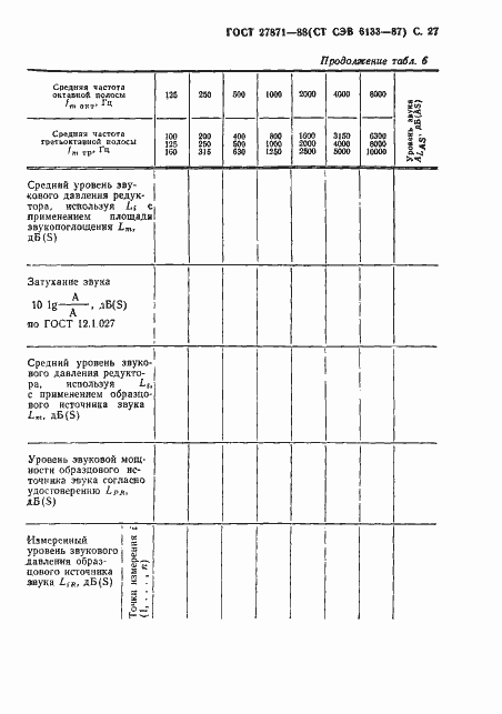
ГОСТ 27871-88 Редукторы общего назначения. Методы определения уровня звуковой мощности
ГОСТ
Скачать ГОСТ в PDF или DOC бесплатно
Основная информация
Обозначение:
ГОСТ 27871-88
Статус:
Утратил силу в РФ
Тип:
ГОСТ
Название русское:
Редукторы общего назначения. Методы определения уровня звуковой мощности
Название английское:
Reducers of general usage. Methods for the determination of the sound power level
Даты и сроки
Дата издания:
01-16-89
Дата введения в действие:
01-01-90
Дата завершения срока действия:
07-01-08
Связи и замены
Заменяющий:
-
Изменения и переиздания
Список изменений:
№0 от (рег. ) «Поправка к изменению»
Описание стандарта
ГОСТ 27871-88 Редукторы общего назначения. Методы определения уровня звуковой мощности
Страницы стандарта

































