ГОСТ 228-79 Цепи якорные с распорками. Общие технические условия
ГОСТ
Скачать ГОСТ в PDF или DOC бесплатно
Основная информация
Обозначение:
ГОСТ 228-79
Статус:
Действует
Тип:
ГОСТ
Название русское:
Цепи якорные с распорками. Общие технические условия
Название английское:
Stud-link anchor chains. General specifications
Даты и сроки
Дата издания:
05-01-97
Дата введения в действие:
06-30-83
Дата завершения срока действия:
-
Применение и описание
Область и условия применения:
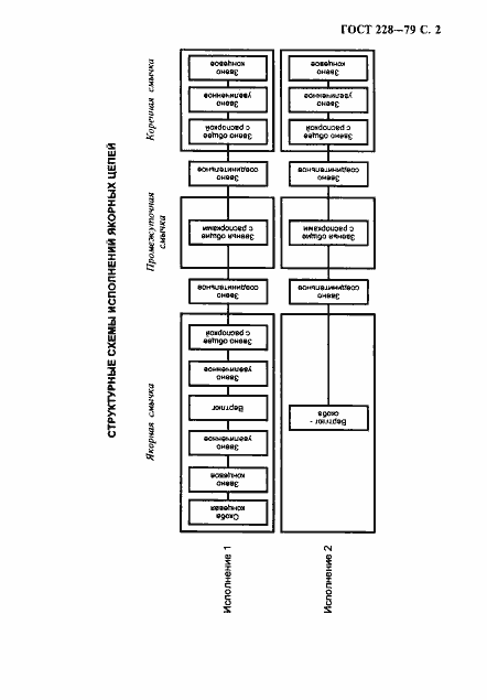
Настоящий стандарт распространяется на якорные цепи с распорками, предназначенные для эксплуатации в любых климатических условиях в якорных устройствах кораблей, судов и плавучих средств. Настоящий стандарт не распространяется на якорные цепи, применяемые на полупогружных плавучих буровых установках
Связи и замены
Заменяющий:
-
Взамен:
ГОСТ 228-65;ГОСТ 6345-65;ГОСТ 6346-65;ГОСТ 6348-71
Изменения и переиздания
Список изменений:
№1 от (рег. ) «Срок действия продлен» №2 от (рег. ) «Поправка»
Описание стандарта
ГОСТ 228-79 Цепи якорные с распорками. Общие технические условия
Страницы стандарта































