ГОСТ 4609-49 Оборудование сливо-наливное для горючих и легковоспламеняющихся жидкостей. Стояк сливо-наливной одиночный с ручным насосом
ГОСТ
Скачать ГОСТ в PDF или DOC бесплатно
Основная информация
Обозначение:
ГОСТ 4609-49
Статус:
Действует
Тип:
ГОСТ
Название русское:
Оборудование сливо-наливное для горючих и легковоспламеняющихся жидкостей. Стояк сливо-наливной одиночный с ручным насосом
Название английское:
Filling-draining equipment for flammable and highly inflammable liquids. Single filling-draining standpipe with manual pump
Даты и сроки
Дата издания:
05-01-87
Дата введения в действие:
04-30-49
Дата завершения срока действия:
-
Применение и описание
Область и условия применения:
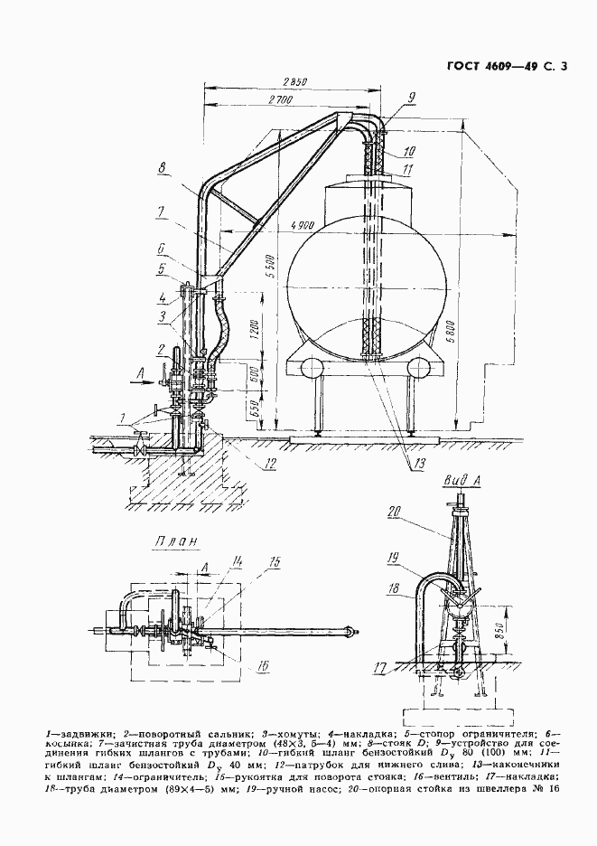
Настоящий стандарт распространяется на одиночные сливо-наливные стояки, служащие для ручного, механизированного или самотечного слива горючих и легковоспламеняющихся жидкостей из вагонов-цистерн с помощью ручного насоса, а также для налива в вагоны-цистерны перекачивающими средствами базы или склада горючего. Настоящий стандарт устанавливает внешние строительные и монтажные размеры стояков
Связи и замены
Заменяющий:
-
Описание стандарта
ГОСТ 4609-49 Оборудование сливо-наливное для горючих и легковоспламеняющихся жидкостей. Стояк сливо-наливной одиночный с ручным насосом
Страницы стандарта






