ГОСТ 13970-74 Угольники ввертные для соединений трубопроводов по наружному конусу. Конструкция и размеры
ГОСТ
Скачать ГОСТ в PDF или DOC бесплатно
Основная информация
Обозначение:
ГОСТ 13970-74
Статус:
Действует
Тип:
ГОСТ
Название русское:
Угольники ввертные для соединений трубопроводов по наружному конусу. Конструкция и размеры
Название английское:
Screwed elbows for tube connections on external cone. Construction and dimensions
Даты и сроки
Дата издания:
01-01-88
Дата введения в действие:
06-30-75
Дата завершения срока действия:
-
Применение и описание
Область и условия применения:
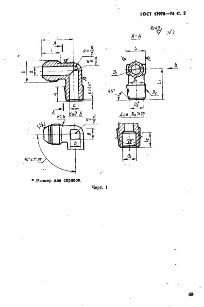
Настоящий стандарт устанавливает конструкцию и размеры угольников ввертных для соединений трубопроводов по наружному конусу
Связи и замены
Заменяющий:
-
Взамен:
ГОСТ 13970-68
Описание стандарта
ГОСТ 13970-74 Угольники ввертные для соединений трубопроводов по наружному конусу. Конструкция и размеры
Страницы стандарта









