ГОСТ 17020-78 Прижимы, держатели и пояски для крепления трубопроводов и кабелей. Конструкция и размеры
ГОСТ
Скачать ГОСТ в PDF или DOC бесплатно
Основная информация
Обозначение:
ГОСТ 17020-78
Статус:
Действует
Тип:
ГОСТ
Название русское:
Прижимы, держатели и пояски для крепления трубопроводов и кабелей. Конструкция и размеры
Название английское:
Clamps, holders and belts for fixing of pipelines and cables. Design and sizes
Даты и сроки
Дата издания:
08-01-83
Дата введения в действие:
01-01-79
Дата завершения срока действия:
-
Применение и описание
Область и условия применения:
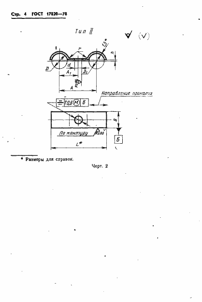
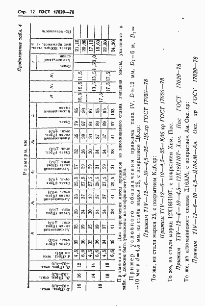
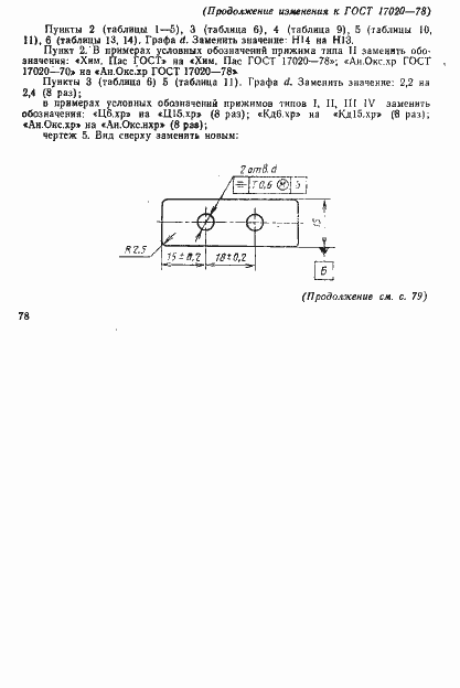
Настоящий стандарт распространяется на прижимы, держатели и пояски для крепления трубопроводов и кабелей и устанавливает их конструкцию и размеры
Связи и замены
Заменяющий:
-
Взамен:
ГОСТ 17020-71
Изменения и переиздания
Список изменений:
№1 от (рег. ) «Срок действия продлен» №2 от (рег. ) «Срок действия продлен»
Описание стандарта
ГОСТ 17020-78 Прижимы, держатели и пояски для крепления трубопроводов и кабелей. Конструкция и размеры
Страницы стандарта











































