ГОСТ 20191-74 Тройники фланцевые проходные герметизируемые для соединений трубопроводов по наружному конусу. Конструкция и размеры
ГОСТ
Скачать ГОСТ в PDF или DOC бесплатно
Основная информация
Обозначение:
ГОСТ 20191-74
Статус:
Действует
Тип:
ГОСТ
Название русское:
Тройники фланцевые проходные герметизируемые для соединений трубопроводов по наружному конусу. Конструкция и размеры
Название английское:
Hermeticable flange union tees for tube connections on external cone. Construction and dimensions
Даты и сроки
Дата издания:
01-01-88
Дата введения в действие:
06-30-75
Дата завершения срока действия:
-
Применение и описание
Область и условия применения:
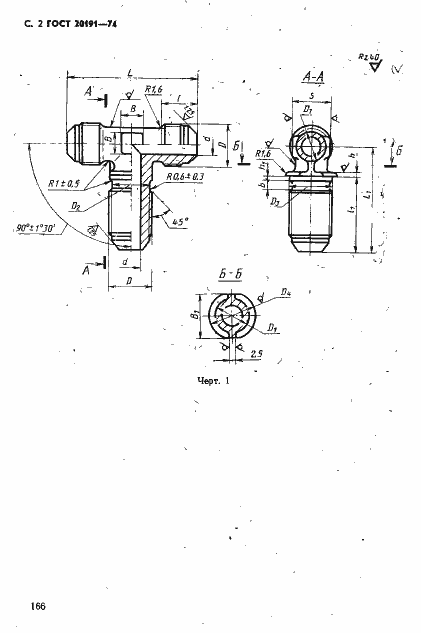
Настоящий стандарт устанавливает конструкцию и размеры фланцевых проходных герметизируемых тройников
Связи и замены
Заменяющий:
-
Описание стандарта
ГОСТ 20191-74 Тройники фланцевые проходные герметизируемые для соединений трубопроводов по наружному конусу. Конструкция и размеры
Страницы стандарта







