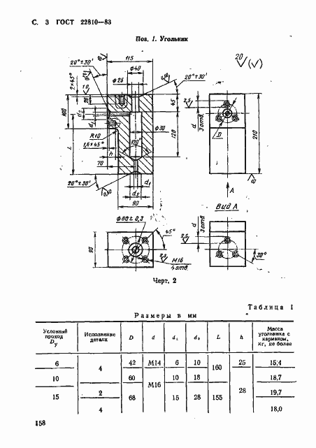
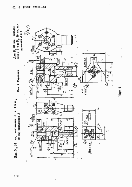
ГОСТ 22810-83 Сборочные единицы и детали трубопроводов. Угольники с карманами под термометры сопротивления и термоэлектрические термометры на Ру св. 10 до 100 МПа (св. 100 до 1000 кгс/см кв.). Конструкция и размеры
ГОСТ
Скачать ГОСТ в PDF или DOC бесплатно
Основная информация
Обозначение:
ГОСТ 22810-83
Статус:
Действует
Тип:
ГОСТ
Название русское:
Сборочные единицы и детали трубопроводов. Угольники с карманами под термометры сопротивления и термоэлектрические термометры на Ру св. 10 до 100 МПа (св. 100 до 1000 кгс/см кв.). Конструкция и размеры
Название английское:
Assembly units and pipeline parts. Pocket angles for resistance thermometers and thermocouple thermometers for Pnom 9,81-98,1 MPa (100-1000 kgf/sm sq). Construction and dimensions
Даты и сроки
Дата издания:
07-01-91
Дата введения в действие:
01-01-85
Дата завершения срока действия:
-
Применение и описание
Область и условия применения:
Настоящий стандарт распространяется на угольники с карманами под термометры сопротивления и термоэлектрические термометры для трубопроводов с линзовым уплотнением, применяемых на предприятиях отраслей нефтехимической промышленности и для производства минеральных удобрений
Связи и замены
Заменяющий:
-
Взамен:
ГОСТ 22810-77
Изменения и переиздания
Список изменений:
№1 от (рег. ) «Срок действия продлен»
Описание стандарта
ГОСТ 22810-83 Сборочные единицы и детали трубопроводов. Угольники с карманами под термометры сопротивления и термоэлектрические термометры на Ру св. 10 до 100 МПа (св. 100 до 1000 кгс/см кв.). Конструкция и размеры
Страницы стандарта









