ГОСТ 22825-83 Сборочные единицы и детали трубопроводов. Тройники-вставки на Ру св. 10 до 100 МПа (св. 100 до 1000 кгс/см кв.). Конструкция и размеры
ГОСТ
Скачать ГОСТ в PDF или DOC бесплатно
Основная информация
Обозначение:
ГОСТ 22825-83
Статус:
Действует
Тип:
ГОСТ
Название русское:
Сборочные единицы и детали трубопроводов. Тройники-вставки на Ру св. 10 до 100 МПа (св. 100 до 1000 кгс/см кв.). Конструкция и размеры
Название английское:
Assembly units and pipeline parts. Inserting T-branches for Pnom 9,81-98,1 MPa (100-1000 kgf/sm sq). Construction and dimensions
Даты и сроки
Дата издания:
10-01-91
Дата введения в действие:
01-01-85
Дата завершения срока действия:
-
Применение и описание
Область и условия применения:
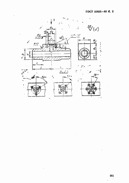
Настоящий стандарт распространяется на тройники-вставки для трубопроводов, применяемых на предприятиях отраслей нефтехимической промышленности и для производства минеральных удобрений
Связи и замены
Заменяющий:
-
Взамен:
ГОСТ 22825-77
Описание стандарта
ГОСТ 22825-83 Сборочные единицы и детали трубопроводов. Тройники-вставки на Ру св. 10 до 100 МПа (св. 100 до 1000 кгс/см кв.). Конструкция и размеры
Страницы стандарта










