ГОСТ 23102-78 Патрубки присоединительные бортовой малогабаритной арматуры. Конструкция и размеры
ГОСТ
Скачать ГОСТ в PDF или DOC бесплатно
Основная информация
Обозначение:
ГОСТ 23102-78
Статус:
Действует
Тип:
ГОСТ
Название русское:
Патрубки присоединительные бортовой малогабаритной арматуры. Конструкция и размеры
Название английское:
Connecting branches of smallsized board pipe fitting. Construction and dimensions
Даты и сроки
Дата издания:
10-01-84
Дата введения в действие:
06-30-79
Дата завершения срока действия:
-
Применение и описание
Область и условия применения:
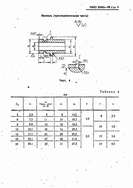
Настоящий стандарт распространяется на присоединительные патрубки бортовой малогабаритной арматуры с условным проходом Dy от 2 до 25 мм и давлением рабочей среды до Py 4,0 МПа (40 кгс/см кв.), применяемые для соединения арматуры с трубопроводами. Стандарт не распространяется на патрубки арматуры, применяемой в судовых и корабельных системах
Связи и замены
Заменяющий:
-
Изменения и переиздания
Список изменений:
№1 от (рег. ) «Срок действия продлен» №2 от (рег. ) «Срок действия продлен» №3 от (рег. ) «Срок действия продлен»
Описание стандарта
ГОСТ 23102-78 Патрубки присоединительные бортовой малогабаритной арматуры. Конструкция и размеры
Страницы стандарта












