ГОСТ 25136-82 Соединения трубопроводов. Методы испытаний на герметичность
ГОСТ
Скачать ГОСТ в PDF или DOC бесплатно
Основная информация
Обозначение:
ГОСТ 25136-82
Статус:
Действует
Тип:
ГОСТ
Название русское:
Соединения трубопроводов. Методы испытаний на герметичность
Название английское:
Pipe-line connections. Leak tightness test methods
Даты и сроки
Дата издания:
02-01-86
Дата введения в действие:
01-01-83
Дата завершения срока действия:
-
Применение и описание
Область и условия применения:
Стандарт устанавливает требования к основным методам испытаний на герметичность соединений трубопроводов. Стандарт распространяется на разъемные соединения трубопроводов
Связи и замены
Заменяющий:
-
Изменения и переиздания
Список изменений:
№0 от (рег. ) «Срок действия продлен»
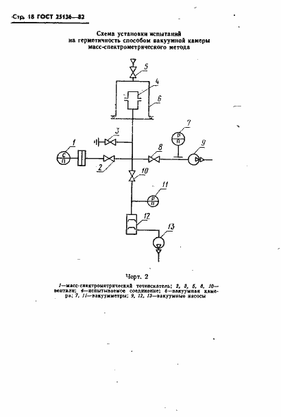
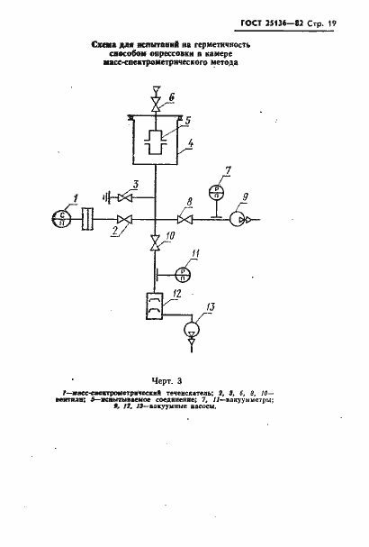
Описание стандарта
ГОСТ 25136-82 Соединения трубопроводов. Методы испытаний на герметичность
Страницы стандарта























