ГОСТ 28941.24-91 Соединения трубопроводов с развальцовкой трубы. Крышки глухие. Конструкция
ГОСТ
Скачать ГОСТ в PDF или DOC бесплатно
Основная информация
Обозначение:
ГОСТ 28941.24-91
Статус:
Действует
Тип:
ГОСТ
Название русское:
Соединения трубопроводов с развальцовкой трубы. Крышки глухие. Конструкция
Название английское:
Flare fittings. Snugle covers. Construction
Даты и сроки
Дата издания:
09-03-91
Дата введения в действие:
01-01-92
Дата завершения срока действия:
-
Применение и описание
Область и условия применения:
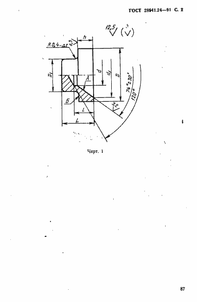
Настоящий стандарт распространяется на глухие крышки для соединений трубопроводов с развальцовкой трубы с углом конуса 74°
Связи и замены
Заменяющий:
-
Описание стандарта
ГОСТ 28941.24-91 Соединения трубопроводов с развальцовкой трубы. Крышки глухие. Конструкция
Страницы стандарта




