ГОСТ Р 57602-2017 Трубы и трубопроводы из реактопластов, армированных волокном. Методы неразрушающего контроля при эксплуатации
ГОСТ Р
Скачать ГОСТ в PDF или DOC бесплатно
Основная информация
Обозначение:
ГОСТ Р 57602-2017
Статус:
Действует
Тип:
ГОСТ Р
Название русское:
Трубы и трубопроводы из реактопластов, армированных волокном. Методы неразрушающего контроля при эксплуатации
Название английское:
Fibre reinforced thermosetting plastic pipes and pipelines. Nondestructive testing methods with exploiting
Даты и сроки
Дата издания:
09-04-17
Дата введения в действие:
02-01-18
Дата завершения срока действия:
-
Применение и описание
Область и условия применения:
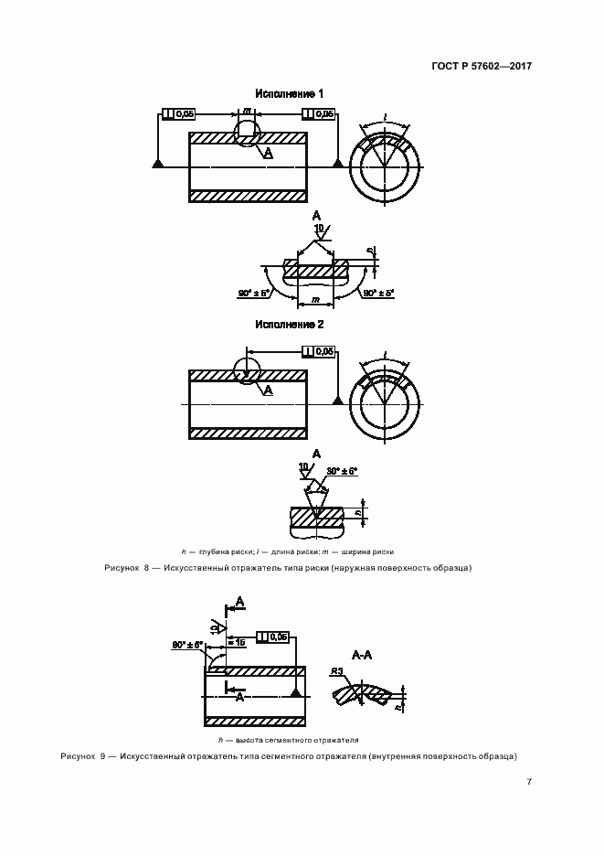
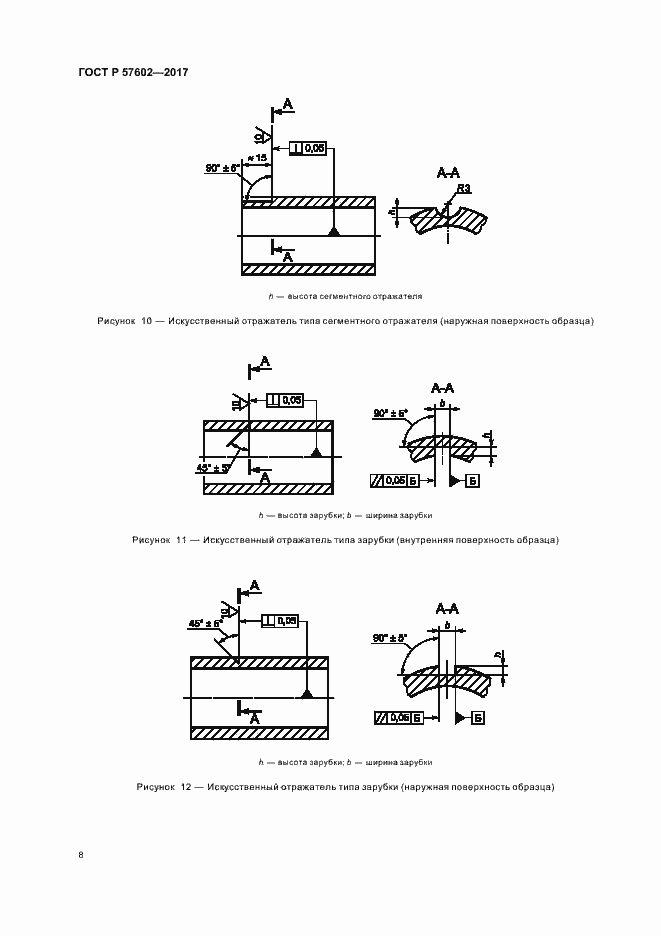
Настоящий стандарт распространяется на трубы, запорную арматуру, различные переходы, коллекторные узлы, изготовленные из реактопластов, армированных волокном, применяемые в трубопроводах как наземного, так и подземного исполнения. Настоящий стандарт устанавливает метод виброакустического контроля (далее - ВАК) для выявления различных дефектов (в виде нарушения сплошности и однородности материала, наличия трещин, врезок, расслоений), расположенных на наружной и внутренней поверхностях, а также в толще стенок изделий и обнаруживаемых виброакустической аппаратурой. Настоящий стандарт устанавливает метод неразрушающего контроля деформации и/или температуры, и/или обнаружения утечек с помощью волоконной брэгговской решетки (далее - ВБР), или сборок, состоящих из ВБР. Действительные размеры дефектов, их форма и характер настоящим стандартом не устанавливаются. Необходимость проведения ВАК и контроля состояния при использовании ВБР, его объем и нормы допустимых дефектов устанавливают в нормативном документе или технической документации на изделия
Связи и замены
Заменяющий:
-
Описание стандарта
ГОСТ Р 57602-2017 Трубы и трубопроводы из реактопластов, армированных волокном. Методы неразрушающего контроля при эксплуатации
Страницы стандарта


















