ГОСТ ISO 8033-2022 Рукава резиновые и пластиковые. Определение прочности связи между элементами
ГОСТ ИСО
Скачать ГОСТ в PDF или DOC бесплатно
Основная информация
Обозначение:
ГОСТ ISO 8033-2022
Статус:
Действует
Тип:
ГОСТ ИСО
Название русское:
Рукава резиновые и пластиковые. Определение прочности связи между элементами
Название английское:
Rubber and plastics hoses. Determination of adhesion between components
Даты и сроки
Дата регистрации:
06-08-22
Дата издания:
07-22-22
Дата введения в действие:
01-01-23
Дата завершения срока действия:
-
Применение и описание
Область и условия применения:
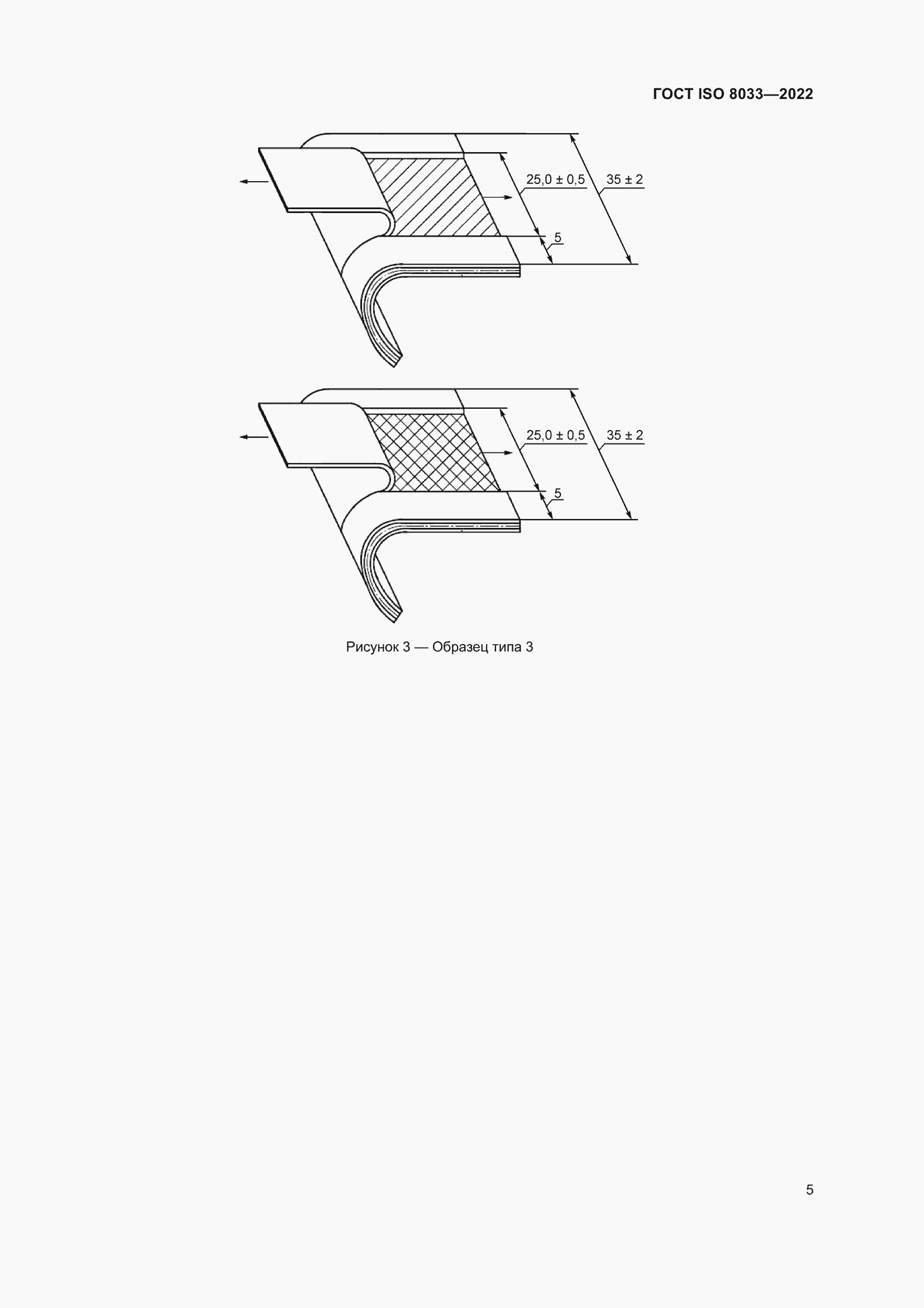
Настоящий стандарт устанавливает методы определения прочности связи между элементами резиновых и пластиковых рукавов: внутренним и армирующим слоями, наружным и армирующим слоями, армирующими слоями, наружным слоем и внешним покрытием (тонким защитным слоем материала, нанесенного на наружный слой), а также между внутренним слоем и внутренним покрытием (тонким слоем материала, нанесенного на внутренний слой для снижения проникновения через него жидкости)
Связи и замены
Заменяющий:
-
Взамен:
ГОСТ ISO 8033-2016
Описание стандарта
ГОСТ ISO 8033-2022 Рукава резиновые и пластиковые. Определение прочности связи между элементами
Страницы стандарта



















