ГОСТ Р 55209-2012 Устройства безопасности, регулирования и управления для газовых горелок и газовых приборов. Общие требования
ГОСТ Р
Скачать ГОСТ в PDF или DOC бесплатно
Основная информация
Обозначение:
ГОСТ Р 55209-2012
Статус:
Отменен
Тип:
ГОСТ Р
Название русское:
Устройства безопасности, регулирования и управления для газовых горелок и газовых приборов. Общие требования
Название английское:
Safety and control devices for gas burners and gas burning appliances. General requirements
Даты и сроки
Дата издания:
01-15-15
Дата введения в действие:
01-01-14
Дата завершения срока действия:
07-01-22
Применение и описание
Область и условия применения:
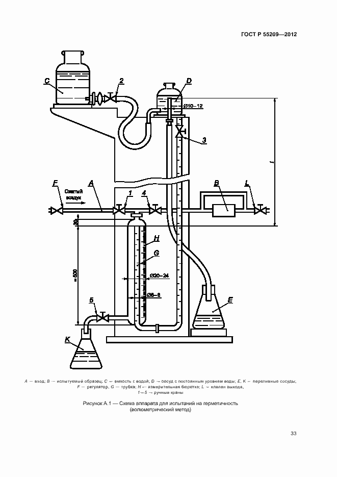
Настоящий стандарт устанавливает требования безопасности, конструктивные, эксплуатационные характеристики и методы испытаний устройств обеспечения безопасности, регулирования и управления для газовых горелок и газовых приборов, применяющих горючие газы первого, второго или третьего семейства. Настоящий стандарт распространяется на следующие устройства управления: - автоматические отсечные клапаны; - автоматические системы управления горелкой; - устройства контроля пламени; - регуляторы соотношения газ-воздух; - регуляторы давления; - ручные краны; - механические термостаты; - многофункциональные устройства управления; - датчики контроля давления; - системы контроля герметичности клапана; - нулевые регуляторы давления. Указанные в настоящем стандарте методы испытаний предназначены только для типовых испытаний образцов устройств управления. Специальные методы контрольных испытаний устройств управления не указаны. Настоящий стандарт рекомендуется применять совместно со стандартом на устройства управления конкретного типа ГОСТ Р ЕН 257; ГОСТ Р 51842; ГОСТ Р 52219; ГОСТ Р 54823; ГОСТ Р 54824; ГОСТ Р 55205; ГОСТ Р 55206; ГОСТ Р 55207; ГОСТ Р 55208
Связи и замены
Заменяющий:
-
Описание стандарта
ГОСТ Р 55209-2012 Устройства безопасности, регулирования и управления для газовых горелок и газовых приборов. Общие требования
Страницы стандарта




















































