ГОСТ Р 55510-2013 Арматура трубопроводная. Приводы вращательного действия. Присоединительные размеры
ГОСТ Р
Скачать ГОСТ в PDF или DOC бесплатно
Основная информация
Обозначение:
ГОСТ Р 55510-2013
Статус:
Отменен
Тип:
ГОСТ Р
Название русское:
Арматура трубопроводная. Приводы вращательного действия. Присоединительные размеры
Название английское:
Pipeline valves. Drives of rotary action. The connecting dimensions
Даты и сроки
Дата издания:
04-01-14
Дата введения в действие:
02-01-14
Дата завершения срока действия:
06-01-21
Применение и описание
Область и условия применения:
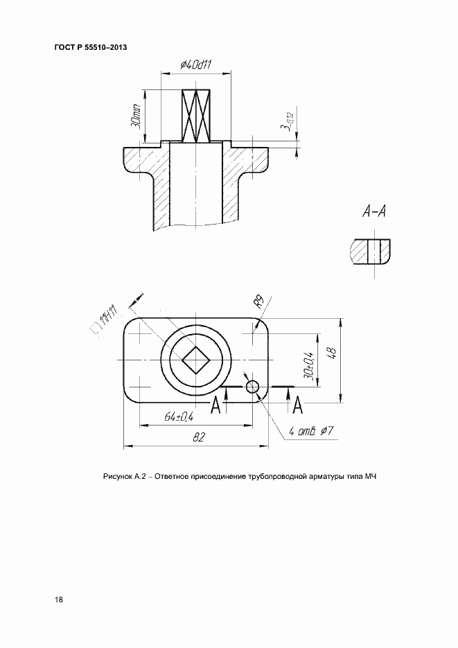
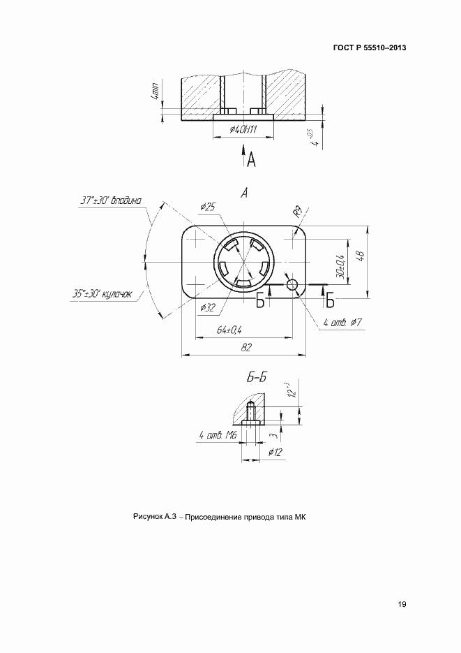
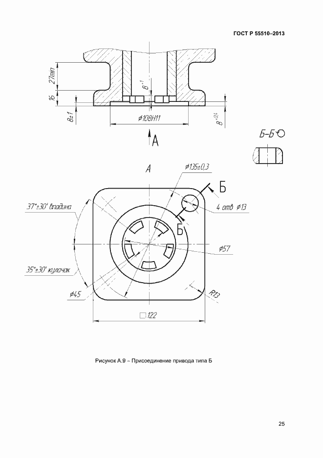
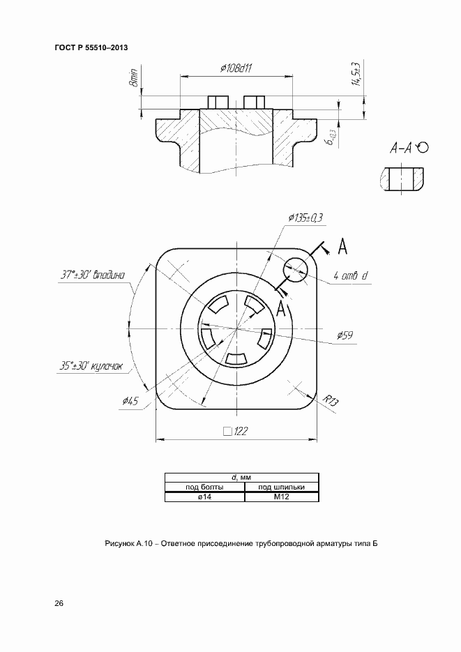
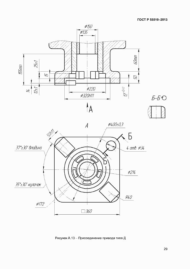
Настоящий стандарт распространяется на приводы и исполнительные механизмы вращательного действия (далее - приводы) (многооборотные и неполноповоротные, электрические, пневматические, гидравлические, а также редукторы) и устанавливает типы присоединений приводов к трубопроводной арматуре, присоединительные размеры приводов и размеры ответных присоединений управляемой ими трубопроводной арматуры
Связи и замены
Заменяющий:
-
Описание стандарта
ГОСТ Р 55510-2013 Арматура трубопроводная. Приводы вращательного действия. Присоединительные размеры
Страницы стандарта


































