ГОСТ 22247-96 Насосы центробежные консольные для воды. Основные параметры и размеры. Требования безопасности. Методы контроля
ГОСТ
Скачать ГОСТ в PDF или DOC бесплатно
Основная информация
Обозначение:
ГОСТ 22247-96
Статус:
Действует
Тип:
ГОСТ
Название русское:
Насосы центробежные консольные для воды. Основные параметры и размеры. Требования безопасности. Методы контроля
Название английское:
Centrifugal and sectionpumps for handling water. Basic parameters and dimensions. Safety requirements. Control methods
Даты и сроки
Дата регистрации:
04-12-96
Дата издания:
06-20-97
Дата введения в действие:
01-01-97
Дата завершения срока действия:
-
Применение и описание
Область и условия применения:
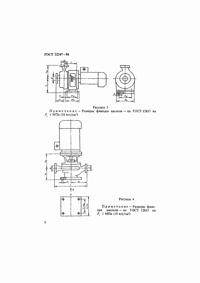
Настоящий стандарт распространяется на центробежные консольные насосы для воды с подачей от 5 до 400 куб. м/ч ( от 1,4 до 111 л/с) и напором от 10 до 90 м, предназначенные для перекачивания в стационарных условиях воды (кроме морской) с pH 6-9, содержащей механические примеси не более 0,1 % по объему и размером частиц не более 0,2 мм, и устанавливает основные параметры и размеры насосов
Связи и замены
Заменяющий:
-
Взамен:
ГОСТ 22247-85
Описание стандарта
ГОСТ 22247-96 Насосы центробежные консольные для воды. Основные параметры и размеры. Требования безопасности. Методы контроля
Страницы стандарта


















