ГОСТ 17437-81 Фильтры-влагоотделители воздушные. Технические условия
ГОСТ
Скачать ГОСТ в PDF или DOC бесплатно
Основная информация
Обозначение:
ГОСТ 17437-81
Статус:
Действует только в РФ
Тип:
ГОСТ
Название русское:
Фильтры-влагоотделители воздушные. Технические условия
Название английское:
Air filters separators. Specifications
Даты и сроки
Дата издания:
05-15-81
Дата введения в действие:
01-01-82
Дата завершения срока действия:
-
Применение и описание
Область и условия применения:
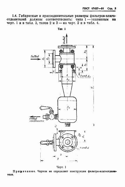
Настоящий стандарт распространяется на фильтры-влагоотделители на давление 1,6 МПа, предназначенные для очистки сжатого воздуха от твердых частиц, воды и минерального масла в пневматических приводах и системах, изготовляемые для нужд народного хозяйства и для экспорта. Стандарт не распространяется на фильтры-влагоотделители для тормозных систем транспортных средств и пневмосистем горно-шахтных машин
Связи и замены
Заменяющий:
-
Взамен:
ГОСТ 17437-72
Изменения и переиздания
Список изменений:
№1 от (рег. ) «Срок действия продлен» №2 от (рег. ) «Срок действия продлен»
Описание стандарта
ГОСТ 17437-81 Фильтры-влагоотделители воздушные. Технические условия
Страницы стандарта





























