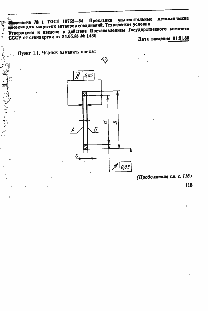
ГОСТ 19752-84 Прокладки уплотнительные металлические плоские для закрытых затворов соединений. Технические условия
ГОСТ
Скачать ГОСТ в PDF или DOC бесплатно
Основная информация
Обозначение:
ГОСТ 19752-84
Статус:
Действует
Тип:
ГОСТ
Название русское:
Прокладки уплотнительные металлические плоские для закрытых затворов соединений. Технические условия
Название английское:
Sealing metal flat gaskets for closed gates. Specifications
Даты и сроки
Дата издания:
11-01-85
Дата введения в действие:
06-30-85
Дата завершения срока действия:
-
Применение и описание
Область и условия применения:
Настоящий стандарт распространяется на плоские металлические прокладки для закрытых затворов соединений
Связи и замены
Заменяющий:
-
Взамен:
ГОСТ 19752-74
Изменения и переиздания
Список изменений:
№1 от (рег. ) «Срок действия продлен»
Описание стандарта
ГОСТ 19752-84 Прокладки уплотнительные металлические плоские для закрытых затворов соединений. Технические условия
Страницы стандарта







