ГОСТ 20719-83 Гидромоторы. Правила приемки и методы испытаний
ГОСТ
Скачать ГОСТ в PDF или DOC бесплатно
Основная информация
Обозначение:
ГОСТ 20719-83
Статус:
Утратил силу в РФ
Тип:
ГОСТ
Название русское:
Гидромоторы. Правила приемки и методы испытаний
Название английское:
Hydraulic motors. Acceptance and methods of tests
Даты и сроки
Дата издания:
04-01-86
Дата введения в действие:
06-30-85
Дата завершения срока действия:
11-30-23
Применение и описание
Область и условия применения:
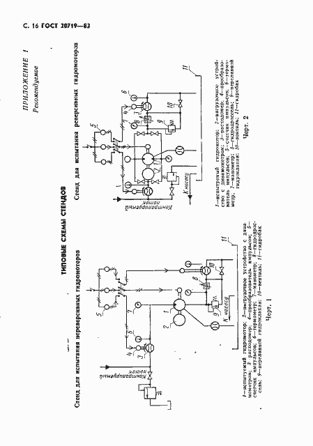
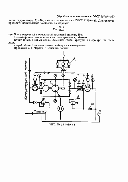
Настоящий стандарт распространяется на гидромоторы и насос-моторы для объемных гидроприводов и устанавливает правила приемки и методы испытаний
Связи и замены
Заменяющий:
-
Взамен:
ГОСТ 20719-75
Изменения и переиздания
Список изменений:
№1 от (рег. ) «Срок действия продлен» №2 от (рег. ) «Срок действия продлен»
Описание стандарта
ГОСТ 20719-83 Гидромоторы. Правила приемки и методы испытаний
Страницы стандарта























