ГОСТ 24679-81 Гидрораспределители золотниковые четырехлинейные на Рном до 32 МПа. Технические условия
ГОСТ
Скачать ГОСТ в PDF или DOC бесплатно
Основная информация
Обозначение:
ГОСТ 24679-81
Статус:
Действует
Тип:
ГОСТ
Название русское:
Гидрораспределители золотниковые четырехлинейные на Рном до 32 МПа. Технические условия
Название английское:
Hydraulic four-way control valves for nominal pressure to 32 MPa. Specifications
Даты и сроки
Дата издания:
05-01-91
Дата введения в действие:
01-01-84
Дата завершения срока действия:
-
Применение и описание
Область и условия применения:
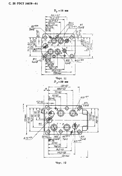
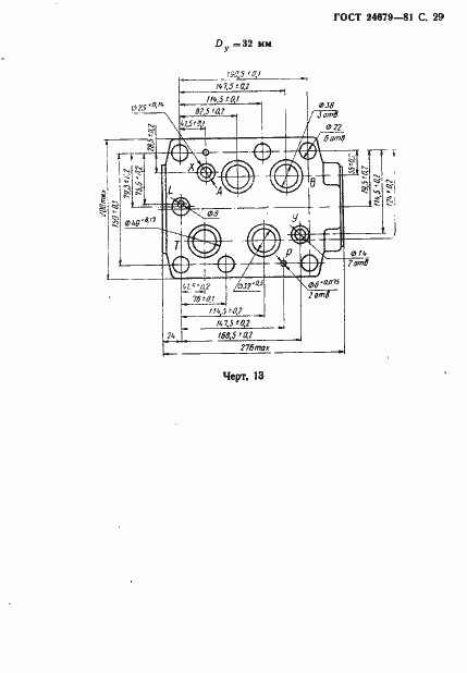
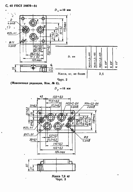
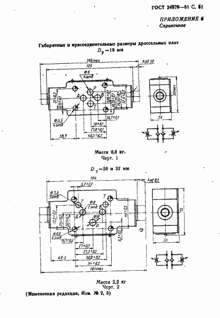
Настоящий стандарт распространяется на золотниковые четырехлинейные гидрораспределители типа В на Рном до 32 МПа (320 кгс/см кв.) со стыковым присоединением, предназначенные для гидроприводов станков, прессов и других стационарных машин, работающих при температуре окружающей среды от +1 до +55 град. С на минеральных маслах с кинематической вязкостью от 10 до 400 мм кв./с (сСт) и температурой от 0 до +70 град. С, изготовляемые для нужд народного хозяйства и для экспорта. Допускается работа гидрораспределителей на рабочей жидкости промгидрол при температуре от 1 до 60 град. С
Связи и замены
Заменяющий:
-
Изменения и переиздания
Список изменений:
№0 от (рег. ) «Срок действия продлен» №1 от (рег. ) «Срок действия продлен» №2 от (рег. ) «Срок действия продлен» №3 от (рег. ) «Срок действия продлен»
Описание стандарта
ГОСТ 24679-81 Гидрораспределители золотниковые четырехлинейные на Рном до 32 МПа. Технические условия
Страницы стандарта
























































