ГОСТы >
01.080.30 Графические обозначения для машиностроительных и строительных чертежей, диаграмм, планов, карт и соответствующей технической документации на продукцию >
ГОСТ Р 21.1501-92
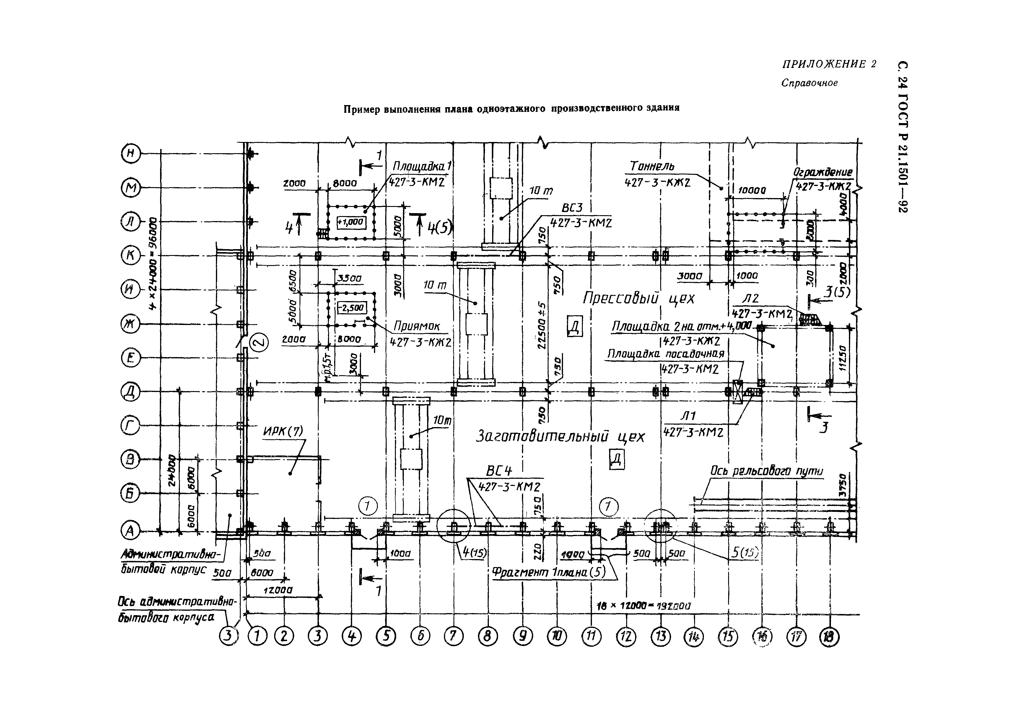
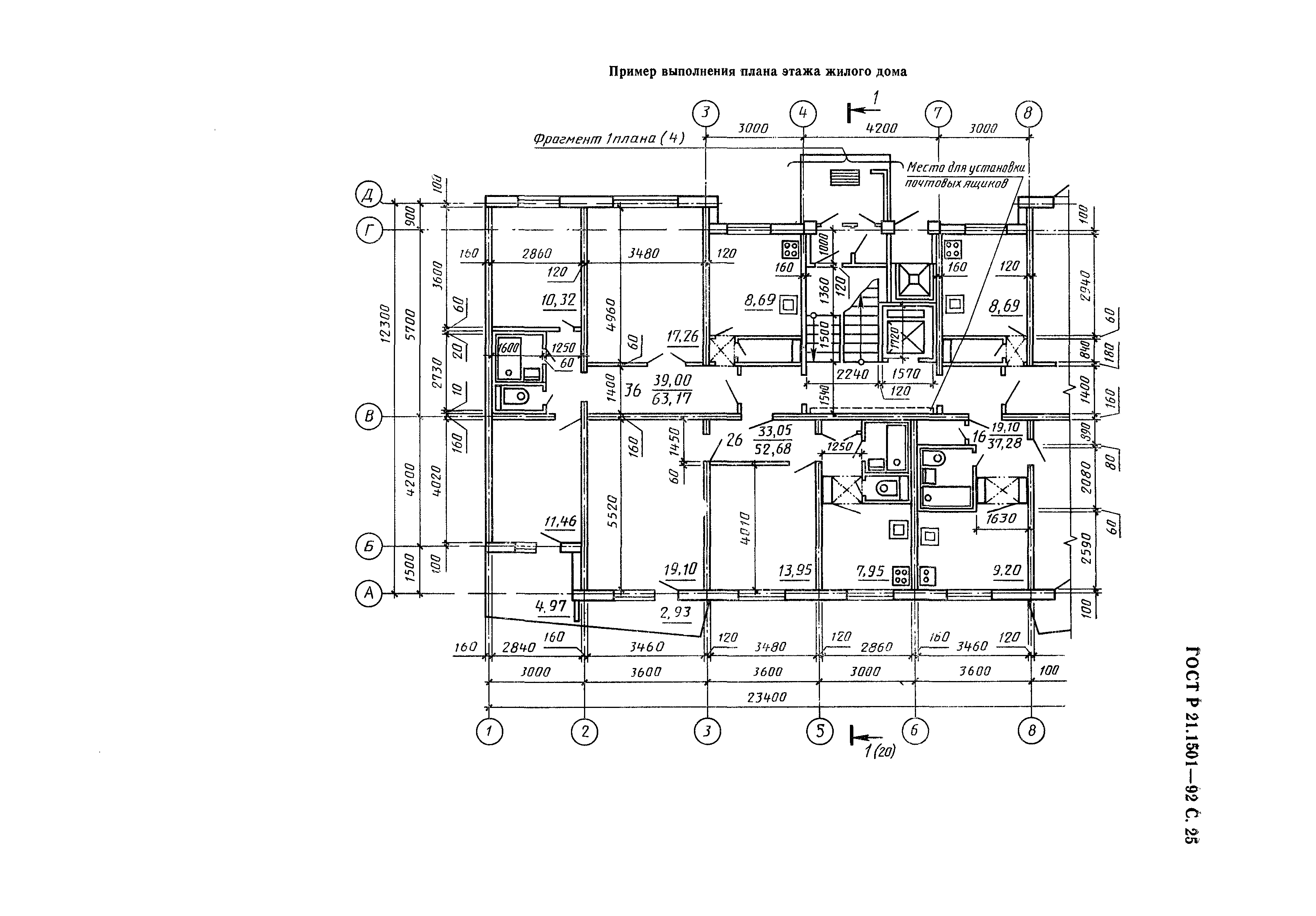
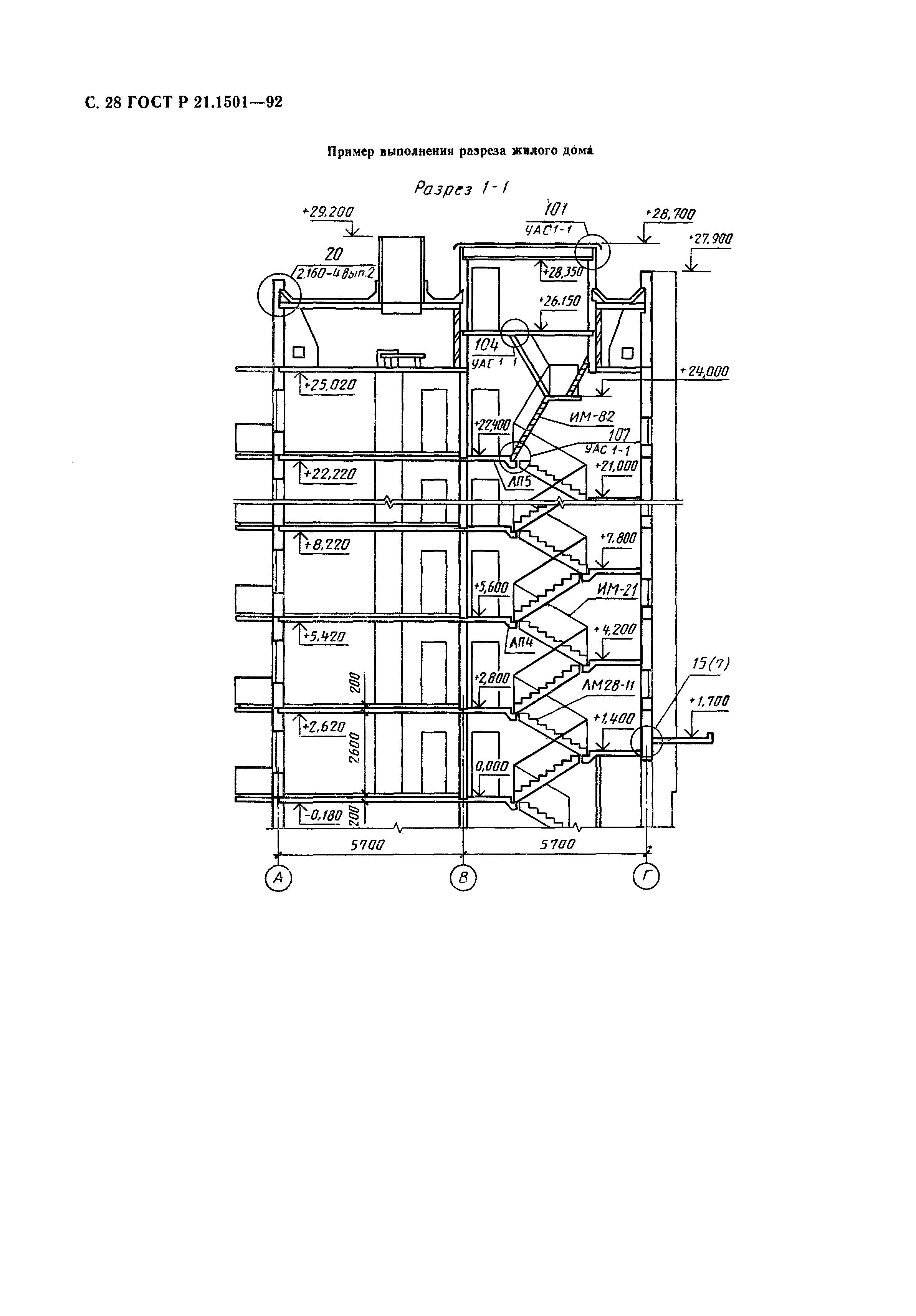
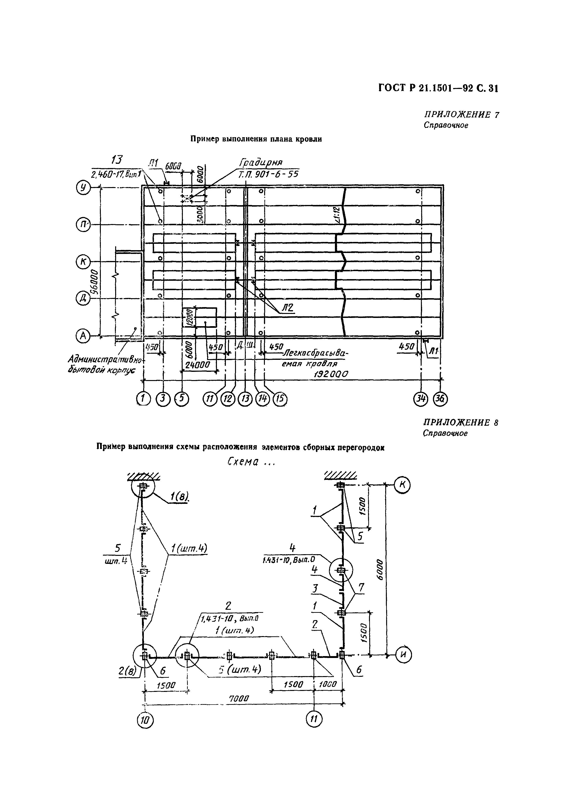
ГОСТ Р 21.1501-92 Система проектной документации для строительства. Правила выполнения архитектурно-строительных рабочих чертежей
ГОСТ Р
Скачать ГОСТ в PDF или DOC бесплатно
Основная информация
Обозначение:
ГОСТ Р 21.1501-92
Статус:
Отменен
Тип:
ГОСТ Р
Название русское:
Система проектной документации для строительства. Правила выполнения архитектурно-строительных рабочих чертежей
Название английское:
System of design documents for construction. Rules for execution of architectiral and constraction working drawings
Даты и сроки
Дата введения в действие:
06-30-93
Дата завершения срока действия:
09-01-94
Связи и замены
Заменяющий:
-
Описание стандарта
ГОСТ Р 21.1501-92 Система проектной документации для строительства. Правила выполнения архитектурно-строительных рабочих чертежей
Страницы стандарта









































