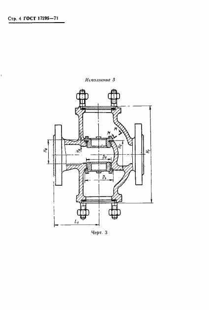
ГОСТ 17295-71 Устройства исполнительные средних расходов ГСП. Блоки корпусов. Исполнения. Основные и присоединительные размеры
ГОСТ
Скачать ГОСТ в PDF или DOC бесплатно
Основная информация
Обозначение:
ГОСТ 17295-71
Статус:
Действует
Тип:
ГОСТ
Название русское:
Устройства исполнительные средних расходов ГСП. Блоки корпусов. Исполнения. Основные и присоединительные размеры
Название английское:
Middle flow actuating device SSI. Body assembly. Pattern. Basic and connecting dimensions
Даты и сроки
Дата издания:
02-25-72
Дата введения в действие:
01-01-74
Дата завершения срока действия:
-
Применение и описание
Область и условия применения:
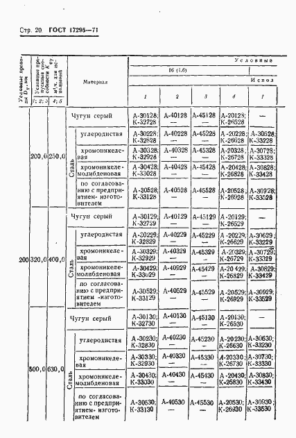
Настоящий стандарт распространяется на блоки корпусов, предназначенные для комплектования регулирующих и запорно-регулирующих исполнительных устройств средних расходов государственной системы промышленных приборов и средств автоматизации на условные давления до 64 кгс/см в кв (6,4 МН/м в кв); односедельных проходных, трехходовых, двухседельных
Связи и замены
Заменяющий:
-
Описание стандарта
ГОСТ 17295-71 Устройства исполнительные средних расходов ГСП. Блоки корпусов. Исполнения. Основные и присоединительные размеры
Страницы стандарта





























