ГОСТ Р МЭК 60770-2-2015 Датчики для применения в системах управления промышленным процессом. Часть 2. Методы приемочных и типовых испытаний
ГОСТ Р МЭК
Скачать ГОСТ в PDF или DOC бесплатно
Основная информация
Обозначение:
ГОСТ Р МЭК 60770-2-2015
Статус:
Действует
Тип:
ГОСТ Р МЭК
Название русское:
Датчики для применения в системах управления промышленным процессом. Часть 2. Методы приемочных и типовых испытаний
Название английское:
Transmitters for use in industrial-process control systems. Part 2. Methods for inspection and routine testing
Даты и сроки
Дата издания:
01-24-19
Дата введения в действие:
01-01-16
Дата завершения срока действия:
-
Применение и описание
Область и условия применения:
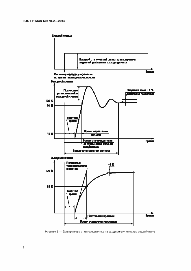
Настоящий стандарт распространяется на датчики, имеющие стандартные аналоговые электрические выходные сигналы или стандартные аналоговые пневматические выходные сигналы, соответствующие МЭК 60381-1 или МЭК 60382. Тестовые испытания, рассматриваемые в настоящем стандарте, при определенных допущениях могут быть применены к датчикам, имеющим и другие выходные сигналы. Настоящий стандарт определяет методы проверки и проведения контрольного тестирования датчиков, например для организации приемо-сдаточных испытаний и испытаний по окончании ремонтных работ (типовые испытания). Для проведения полной оценки рабочих характеристик аналоговых или микропроцессорных датчиков необходимо руководствоваться МЭК 60770-1 и МЭК 60770-3
Связи и замены
Заменяющий:
-
Описание стандарта
ГОСТ Р МЭК 60770-2-2015 Датчики для применения в системах управления промышленным процессом. Часть 2. Методы приемочных и типовых испытаний
Страницы стандарта















