ГОСТ Р ИСО 22745-1-2013 Системы промышленной автоматизации и интеграция. Открытые технические словари и их применение к основным данным. Часть 1. Общие сведения и основополагающие принципы
ГОСТ Р ИСО
Скачать ГОСТ в PDF или DOC бесплатно
Основная информация
Обозначение:
ГОСТ Р ИСО 22745-1-2013
Статус:
Отменен
Тип:
ГОСТ Р ИСО
Название русское:
Системы промышленной автоматизации и интеграция. Открытые технические словари и их применение к основным данным. Часть 1. Общие сведения и основополагающие принципы
Название английское:
Industrial automation systems and integration. Open technical dictionaries and their application to master data. Part 1. Overview and fundamental principles
Даты и сроки
Дата издания:
04-01-14
Дата введения в действие:
07-01-14
Дата завершения срока действия:
04-01-17
Применение и описание
Область и условия применения:
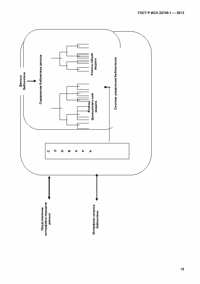
Настоящий стандарт распространяется на: - общие принципы; - общие требования, предъявляемые ко всем OTD; - всемирно принятый идентификатор концепций; - модель данных и формат файлов OTD; - руководящие принципы формулирования терминологии, относящейся к OTD; - структуру организации, обеспечивающей обслуживание OTD; - процедуры технического обслуживания и обновления OTD; требования, предъявляемые к обозначению концепций и терминологии; - модель данных и формат файлов для IG; - модель данных и формат файлов для основных данных; - руководящие принципы введения данных каталога в ИСО 10303; - структуру регистрационного органа, ведущего перечень словарей OTD, соответствующих требованиям настоящего стандарта; - процедуры обслуживания перечня словарей OTD, соответствующих требованиям настоящего стандарта; - адрес веб-сайта, содержащего перечень словарей OTD, соответствующих требованиям настоящего стандарта. Настоящий стандарт не распространяется на содержание словарей OTD. Настоящий стандарт включает в себя: - требования, предъявляемые ко всем OTD; - общие объяснения возможностей использования стандартов комплекса ИСО 22745 с целью выполнения требований ИСО 8000-110; - описание структуры стандартов комплекса ИСО 22745; - краткое содержание других частей стандартов комплекса ИСО 22745
Связи и замены
Заменяющий:
-
Взамен:
ГОСТ Р ИСО/ТС 22745-1-2009
Изменения и переиздания
Список изменений:
№0 от (рег. ) «Текстовое изменение; Изменено заглавие»
Описание стандарта
ГОСТ Р ИСО 22745-1-2013 Системы промышленной автоматизации и интеграция. Открытые технические словари и их применение к основным данным. Часть 1. Общие сведения и основополагающие принципы
Страницы стандарта

























