ГОСТ Р ИСО 10303-52-2015 Системы автоматизации производства и их интеграция. Представление данных об изделии и обмен этими данными. Часть 52. Интегрированный обобщенный ресурс. Решетчатая топология
ГОСТ Р ИСО
Скачать ГОСТ в PDF или DOC бесплатно
Основная информация
Обозначение:
ГОСТ Р ИСО 10303-52-2015
Статус:
Действует
Тип:
ГОСТ Р ИСО
Название русское:
Системы автоматизации производства и их интеграция. Представление данных об изделии и обмен этими данными. Часть 52. Интегрированный обобщенный ресурс. Решетчатая топология
Название английское:
Industrial automation systems and integration. Product data representation and exchange. Part 52. Integrated generic resource. Mesh-based topology
Даты и сроки
Дата издания:
05-29-20
Дата введения в действие:
10-01-16
Дата завершения срока действия:
-
Применение и описание
Область и условия применения:
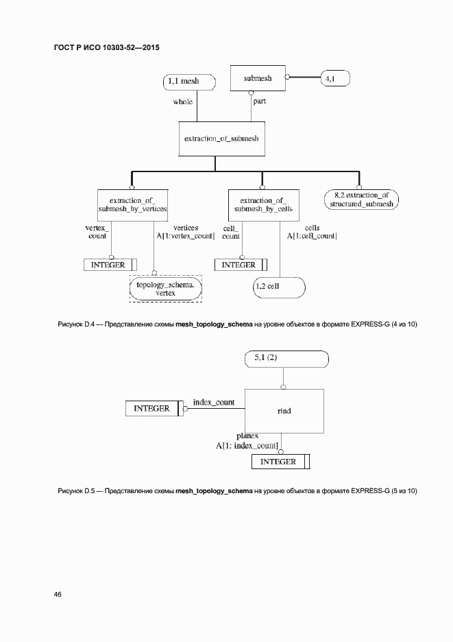
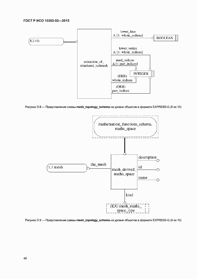
В настоящем стандарте приведены обобщенные, независимые от области применения, средства представления структурированных и неструктурированных сеток, а также математических функций и числовых данных, определенных на этих сетках. Схемы в настоящем документе специфицированы на языке EXPRESS; определение языка EXPRESS дано в ИСО 10303-11. В область применения настоящего стандарта входят: - решетчатые топологии; - связность ячеек и соединения многоблочных сеток; - математические функции, определенные на сетках; - связь численных данных с ячейками, гранями, ребрами и вершинами сетки. В область применения настоящего стандарта не входит: - применение решетчатых топологий; - применение границ разделов между сетками; - семантика данных, связанных с сеткой
Связи и замены
Заменяющий:
-
Описание стандарта
ГОСТ Р ИСО 10303-52-2015 Системы автоматизации производства и их интеграция. Представление данных об изделии и обмен этими данными. Часть 52. Интегрированный обобщенный ресурс. Решетчатая топология
Страницы стандарта






























































