ГОСТ Р ИСО/ТС 10303-1295-2012 Системы автоматизации производства и их интеграция. Представление данных об изделии и обмен этими данными. Часть 1295. Прикладной модуль. Представление свойств по прикладному протоколу ПП239
ГОСТ Р ИСО/ТС
Скачать ГОСТ в PDF или DOC бесплатно
Основная информация
Обозначение:
ГОСТ Р ИСО/ТС 10303-1295-2012
Статус:
Действует
Тип:
ГОСТ Р ИСО/ТС
Название русское:
Системы автоматизации производства и их интеграция. Представление данных об изделии и обмен этими данными. Часть 1295. Прикладной модуль. Представление свойств по прикладному протоколу ПП239
Название английское:
Industrial automation systems and integration. Product data representation and exchange. Part 1295. Application module. Properties AP239
Даты и сроки
Дата издания:
07-14-20
Дата введения в действие:
05-01-13
Дата завершения срока действия:
-
Применение и описание
Область и условия применения:
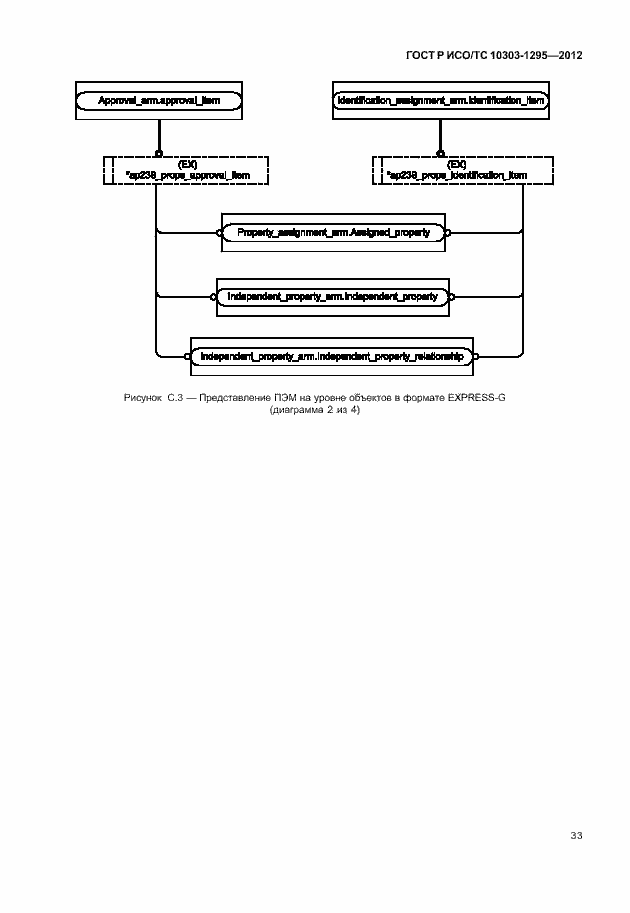
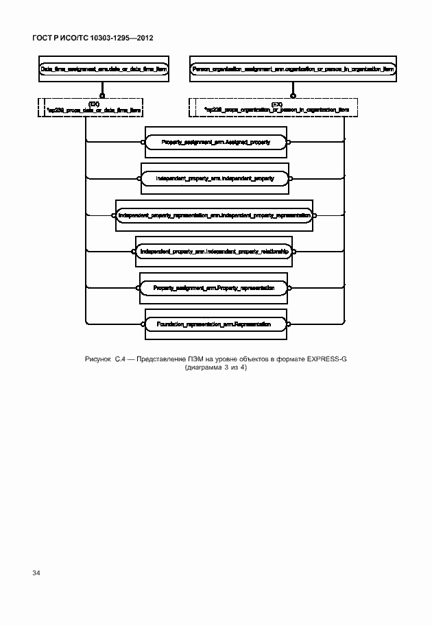
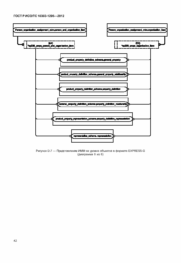
Настоящий стандарт определяет прикладной модуль «Представление свойств по прикладному протоколу ПП239». Стандарты комплекса ИСО 10303 распространяются на компьютерное представление информации об изделиях и обмен данными об изделиях. Их целью является обеспечение нейтрального механизма, способного описывать изделия на всем протяжении их жизненного цикла. Этот механизм применим не только для нейтрального обмена файлами, но является также основой для реализации и совместного доступа к базам данных об изделиях и организации архивирования. Настоящий стандарт определяет прикладной модуль для представления свойств или характеристик объектов, их значений, типов и классификаций, обеспечивающих поддержку жизненного цикла изделий
Связи и замены
Заменяющий:
-
Описание стандарта
ГОСТ Р ИСО/ТС 10303-1295-2012 Системы автоматизации производства и их интеграция. Представление данных об изделии и обмен этими данными. Часть 1295. Прикладной модуль. Представление свойств по прикладному протоколу ПП239
Страницы стандарта


















































