ГОСТ Р ИСО 10303-504-2006 Системы автоматизации производства и их интеграция. Представление данных об изделии и обмен этими данными. Часть 504. Прикладные интерпретированные конструкции. Пояснения на чертежах
ГОСТ Р ИСО
Скачать ГОСТ в PDF или DOC бесплатно
Основная информация
Обозначение:
ГОСТ Р ИСО 10303-504-2006
Статус:
Заменен
Тип:
ГОСТ Р ИСО
Название русское:
Системы автоматизации производства и их интеграция. Представление данных об изделии и обмен этими данными. Часть 504. Прикладные интерпретированные конструкции. Пояснения на чертежах
Название английское:
Industrial automation systems and integration. Product data representation and exchange. Part 504. Application interpreted constructions. Draughting annotation
Даты и сроки
Дата издания:
03-27-07
Дата введения в действие:
07-01-07
Дата завершения срока действия:
01-01-18
Применение и описание
Область и условия применения:
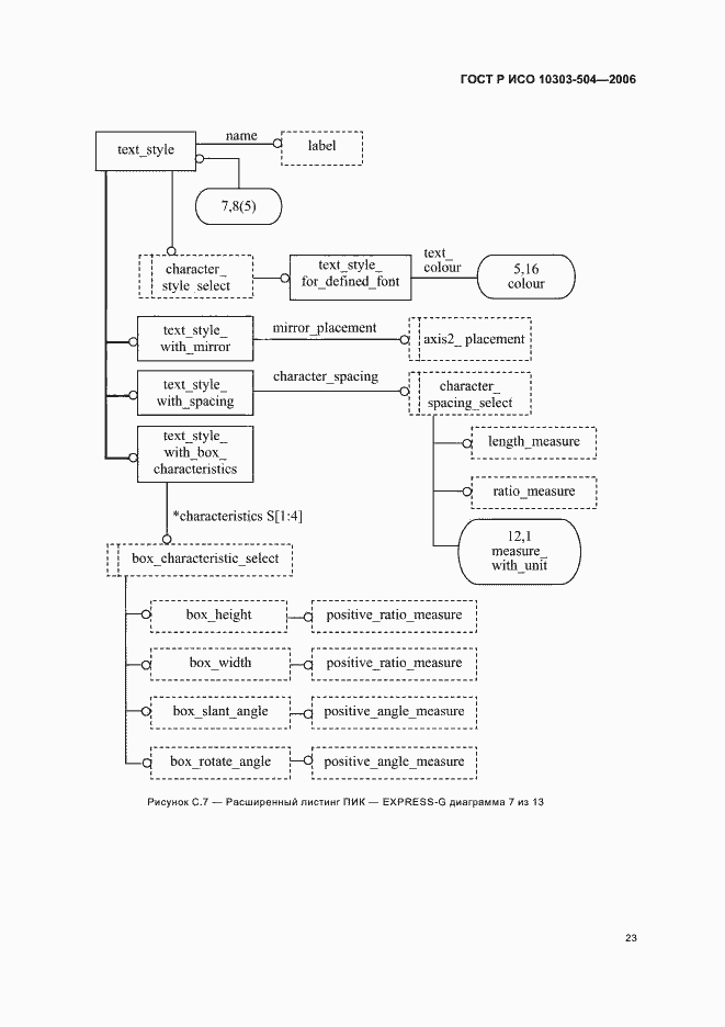
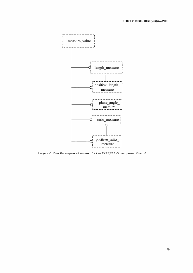
Настоящий стандарт определяет интерпретацию интегрированных ресурсов, обеспечивающую соответствие требованиям к определению пояснений, предназначенных для облегчения понимания данных об изделии и интерпретации чертежа. Область применения настоящего стандарта распространяется на: - представление не формообразующих данных об изделии, изображенных двумерным или плоским трехмерным пояснением; - структуры для представления свойств изображения пояснения; - структуры для представления элементов рисунков и символов; - структуры для представления определенных внешне символов и свойств изображения пояснения; - предопределенные символы и свойства изображения. Область применения настоящего стандарта не распространяется на: - пояснения, которые представляют размеры или выноски на чертежах
Связи и замены
Заменяющий:
ГОСТ Р ИСО 10303-504-2016
Описание стандарта
ГОСТ Р ИСО 10303-504-2006 Системы автоматизации производства и их интеграция. Представление данных об изделии и обмен этими данными. Часть 504. Прикладные интерпретированные конструкции. Пояснения на чертежах
Страницы стандарта



































