ГОСТ Р ИСО 10303-507-2009 Системы автоматизации производства и их интеграция. Представление данных об изделии и обмен этими данными. Часть 507. Прикладные интерпретированные конструкции. Геометрически ограниченная поверхность
ГОСТ Р ИСО
Скачать ГОСТ в PDF или DOC бесплатно
Основная информация
Обозначение:
ГОСТ Р ИСО 10303-507-2009
Статус:
Действует
Тип:
ГОСТ Р ИСО
Название русское:
Системы автоматизации производства и их интеграция. Представление данных об изделии и обмен этими данными. Часть 507. Прикладные интерпретированные конструкции. Геометрически ограниченная поверхность
Название английское:
Industrial automation systems and integration. Product data representation and exchange. Part 507. Application interpreted construct. Geometrically bounded surface
Даты и сроки
Дата издания:
04-06-20
Дата введения в действие:
07-01-10
Дата завершения срока действия:
-
Применение и описание
Область и условия применения:
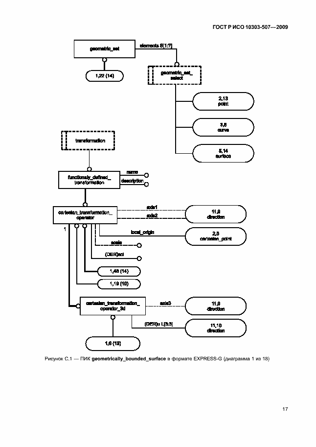
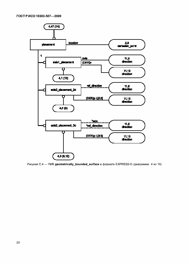
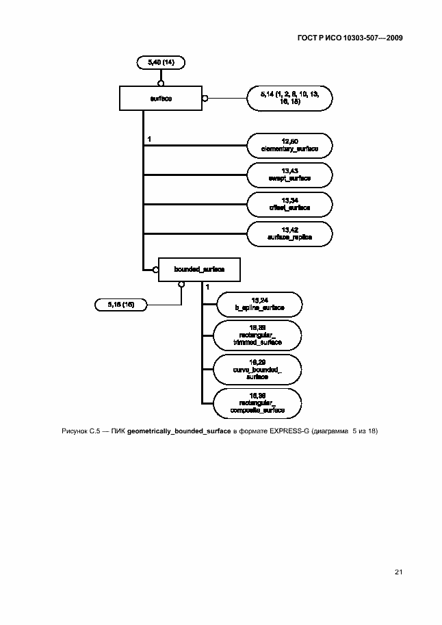
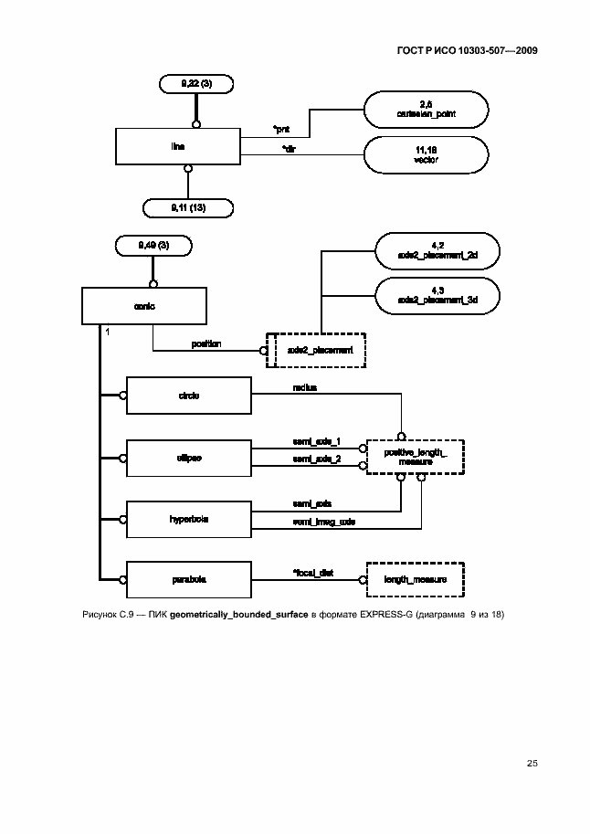
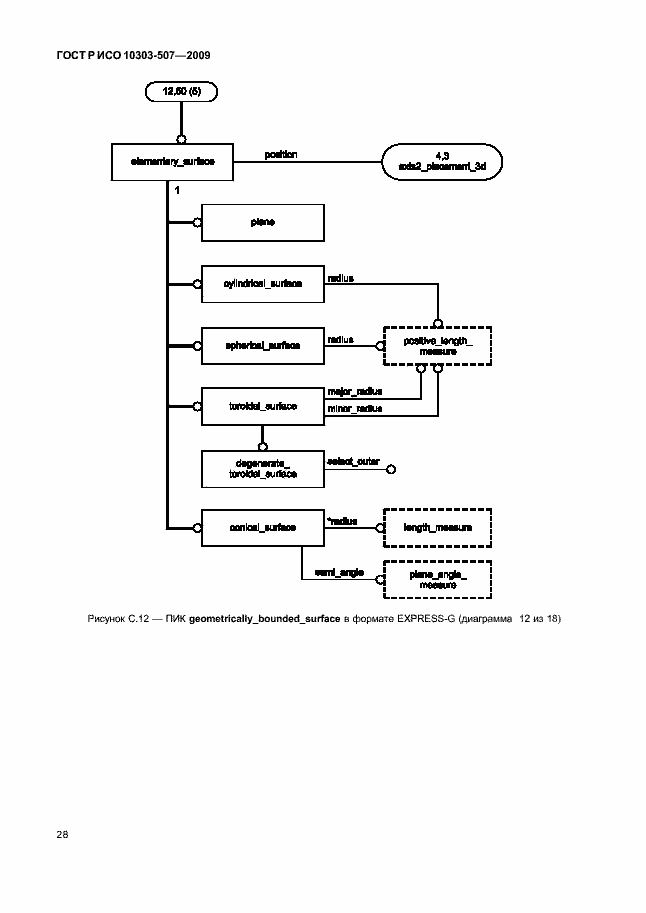
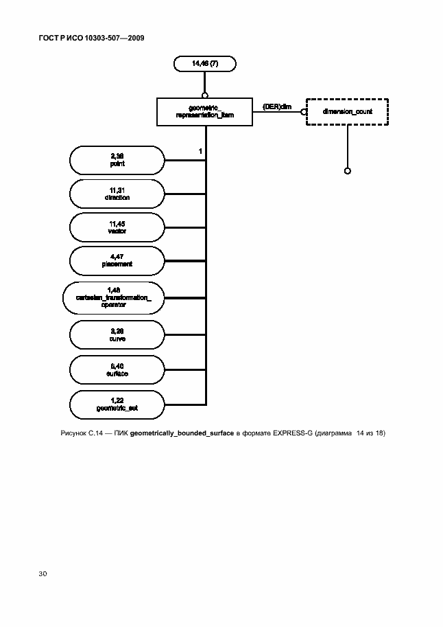
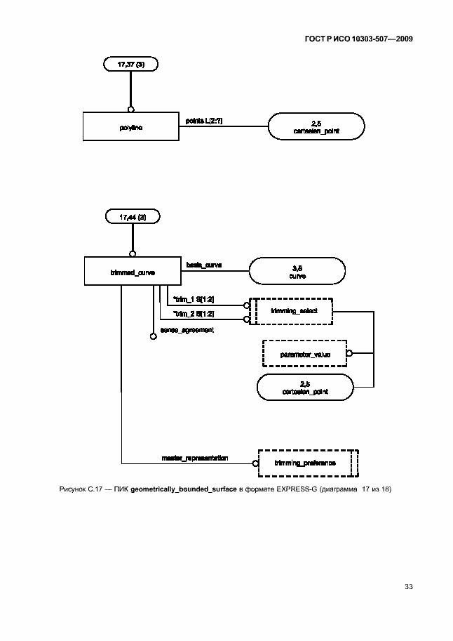
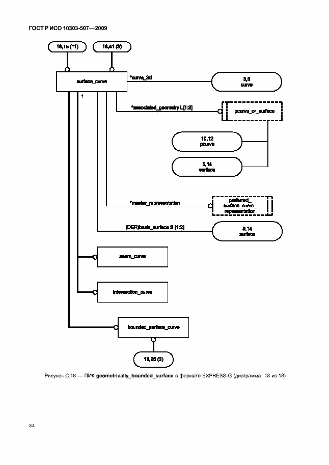
Настоящий стандарт определяет интерпретацию интегрированных ресурсов, обеспечивающую соответствие требованиям к представлению геометрических форм посредством моделей геометрически ограниченных поверхностей. Требования настоящего стандарта распространяются на: - трехмерные точки; - точки, определенные в параметрическом пространстве кривых или поверхностей; - трехмерные кривые; - кривые, определенные в параметрическом пространстве поверхностей; - элементарные кривые: линию, окружность, эллипс, параболу, гиперболу; - кривые пересечений; - полилинии, состоящие, по крайней мере, из трех точек; - поверхности; - элементарные поверхности: плоскость, цилиндр, конус, тор, сферу; - криволинейные поверхности, созданные путем вращения или линейной экструзии кривой; - рельефные кривые и поверхности; - обрезание кривых и поверхностей; - композицию кривых и поверхностей; - копирование кривых, поверхностей и моделей поверхностей; - трехмерные смещения кривых и поверхностей
Связи и замены
Заменяющий:
-
Описание стандарта
ГОСТ Р ИСО 10303-507-2009 Системы автоматизации производства и их интеграция. Представление данных об изделии и обмен этими данными. Часть 507. Прикладные интерпретированные конструкции. Геометрически ограниченная поверхность
Страницы стандарта









































