ГОСТ Р ИСО 10303-515-2007 Системы автоматизации производства и их интеграция. Представление данных об изделии и обмен этими данными. Часть 515. Прикладные интерпретированные конструкции. Конструктивная блочная геометрия
ГОСТ Р ИСО
Скачать ГОСТ в PDF или DOC бесплатно
Основная информация
Обозначение:
ГОСТ Р ИСО 10303-515-2007
Статус:
Действует
Тип:
ГОСТ Р ИСО
Название русское:
Системы автоматизации производства и их интеграция. Представление данных об изделии и обмен этими данными. Часть 515. Прикладные интерпретированные конструкции. Конструктивная блочная геометрия
Название английское:
Industrial automation systems and integration. Product data representation and exchange. Part 515. Application interpreted constructions. Constructive solid geometry
Даты и сроки
Дата издания:
04-06-20
Дата введения в действие:
09-01-07
Дата завершения срока действия:
-
Применение и описание
Область и условия применения:
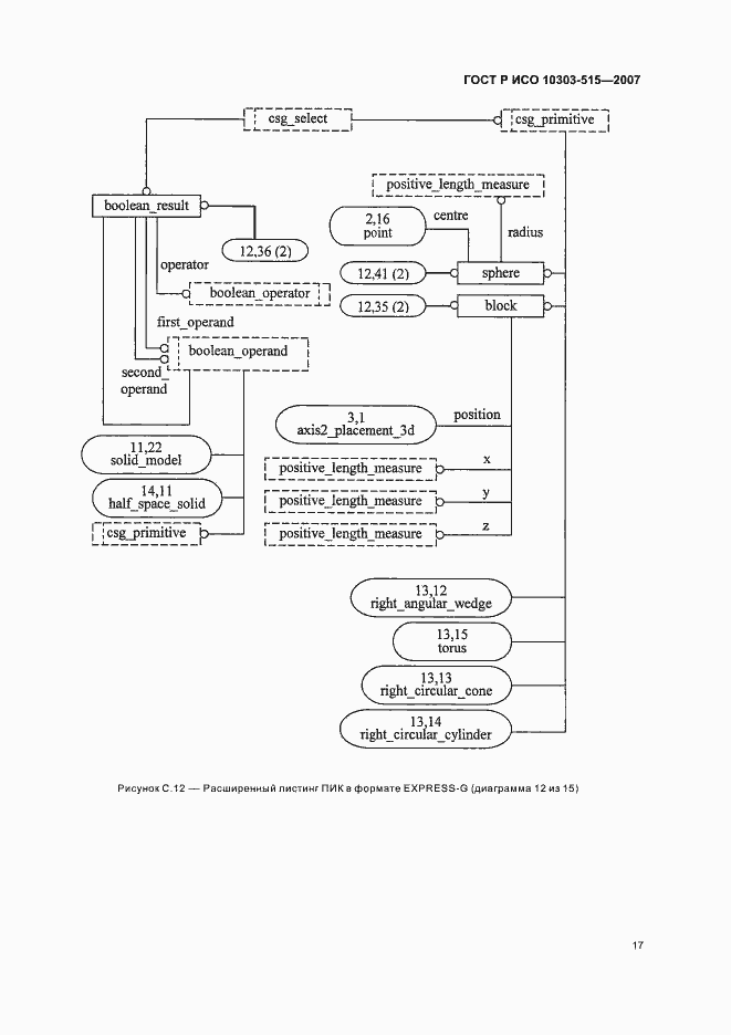
Настоящий стандарт определяет интерпретацию интегрированных ресурсов, обеспечивающую соответствие требованиям к представлению формы изделия с использованием конструктивной блочной геометрии. Требования настоящего стандарта распространяются на: - трехмерные примитивы; - регуляризованные булевы операции - объединение, пресечение и исключение с трехмерными примитивами, разнообразными граничными представлениями и другими объемными телами; - объекты extruded face solids и swept face solids, чтобы определять новые простые формы; - булевы результаты, полученные после применения операторов к объемным телам
Связи и замены
Заменяющий:
-
Описание стандарта
ГОСТ Р ИСО 10303-515-2007 Системы автоматизации производства и их интеграция. Представление данных об изделии и обмен этими данными. Часть 515. Прикладные интерпретированные конструкции. Конструктивная блочная геометрия
Страницы стандарта


























