ГОСТ Р ИСО 10303-517-2009 Системы автоматизации производства и их интеграция. Представление данных об изделии и обмен этими данными. Часть 517. Прикладные интерпретированные конструкции. Геометрическое представление механических конструкций
ГОСТ Р ИСО
Скачать ГОСТ в PDF или DOC бесплатно
Основная информация
Обозначение:
ГОСТ Р ИСО 10303-517-2009
Статус:
Действует
Тип:
ГОСТ Р ИСО
Название русское:
Системы автоматизации производства и их интеграция. Представление данных об изделии и обмен этими данными. Часть 517. Прикладные интерпретированные конструкции. Геометрическое представление механических конструкций
Название английское:
Industrial automation systems and integration. Product data representation and exchange. Part 517. Application interpreted construct. Mechanical design geometric presentation
Даты и сроки
Дата издания:
04-06-20
Дата введения в действие:
07-01-10
Дата завершения срока действия:
-
Применение и описание
Область и условия применения:
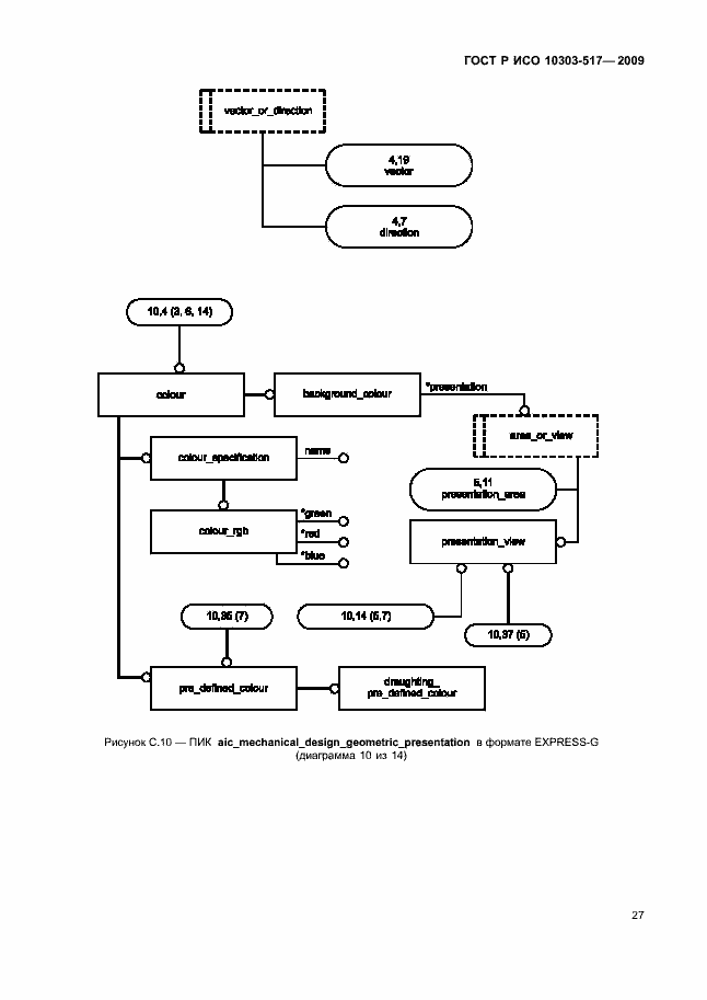
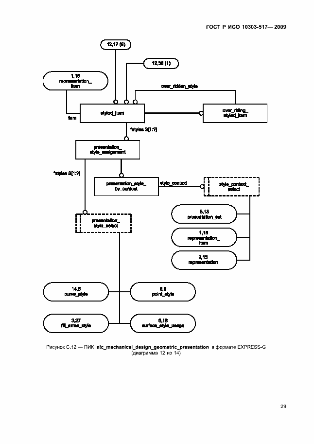
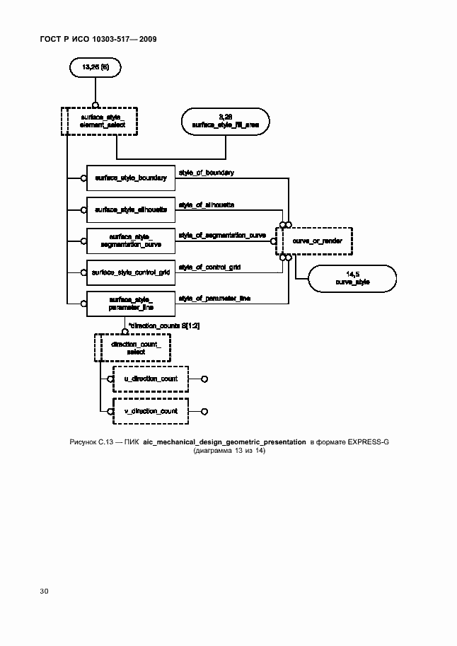
Настоящий стандарт определяет интерпретацию интегрированных ресурсов, обеспечивающую соответствие требованиям к описанию визуального представления геометрической формы. Только основные атрибуты представления, например, цвет или шрифт линий, могут быть связаны с точками, кривыми, поверхностями и топологическими конструкциями. Расширенная функциональность визуализации, такая как источники света и отражательная способность поверхности, в настоящий стандарт не включена. В настоящем стандарте не определено представление аннотаций. Требования настоящего стандарта распространяются на: - визуальное представление форм механических конструкций; - присвоение атрибутов визуального представления геометрическим и топологическим элементам; - алгоритмы проецирования трехмерных форм на плоскости; - размещение проекций формы в окне; - несколько видов в пределах одного окна; - цвет фона окна; - цвет точек и кривых; - шрифт точек; - шрифт кривых; - стили кривых, зависящие от назначения кривых в определении поверхности; - предопределенные цвета; - предопределенные стили кривых
Связи и замены
Заменяющий:
-
Описание стандарта
ГОСТ Р ИСО 10303-517-2009 Системы автоматизации производства и их интеграция. Представление данных об изделии и обмен этими данными. Часть 517. Прикладные интерпретированные конструкции. Геометрическое представление механических конструкций
Страницы стандарта







































