ГОСТ Р ИСО/ТС 10303-1270-2016 Системы автоматизации производства и их интеграция. Представление данных об изделии и обмен этими данными. Часть 1270. Прикладной модуль. Сообщение
ГОСТ Р ИСО/ТС
Скачать ГОСТ в PDF или DOC бесплатно
Основная информация
Обозначение:
ГОСТ Р ИСО/ТС 10303-1270-2016
Статус:
Действует
Тип:
ГОСТ Р ИСО/ТС
Название русское:
Системы автоматизации производства и их интеграция. Представление данных об изделии и обмен этими данными. Часть 1270. Прикладной модуль. Сообщение
Название английское:
Industrial automation systems and integration. Product data representation and exchange. Part 1270. Application module. Message
Даты и сроки
Дата издания:
07-27-20
Дата введения в действие:
07-01-17
Дата завершения срока действия:
-
Применение и описание
Область и условия применения:
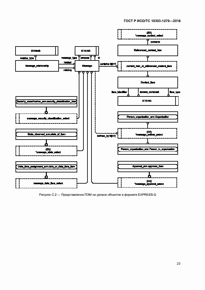
Настоящий стандарт определяет прикладной модуль «Сообщение». В область применения настоящего стандарта входят: - обозначение сообщения; - обозначение создателя сообщения и даты создания; - обозначение элементов, на которые имеются ссылки в содержательной части сообщения; - обозначение того, кто утверждает сообщение; - запись состояния сообщения относительно процессов деловой деятельности; - применение к сообщению грифа секретности; - связь сообщений между собой. В область применения настоящего стандарта не входит: - форматы кодирования информации, содержащейся в сообщении; отправка сообщения или обозначение получателей
Связи и замены
Заменяющий:
-
Описание стандарта
ГОСТ Р ИСО/ТС 10303-1270-2016 Системы автоматизации производства и их интеграция. Представление данных об изделии и обмен этими данными. Часть 1270. Прикладной модуль. Сообщение
Страницы стандарта

































