ГОСТ Р 60.0.0.3-2016 Роботы и робототехнические устройства. Системы координат и обозначение перемещений
ГОСТ Р
Скачать ГОСТ в PDF или DOC бесплатно
Основная информация
Обозначение:
ГОСТ Р 60.0.0.3-2016
Статус:
Действует
Тип:
ГОСТ Р
Название русское:
Роботы и робототехнические устройства. Системы координат и обозначение перемещений
Название английское:
Robots and robotic devices. Coordinate systems and motion nomenclatures
Даты и сроки
Дата издания:
12-29-20
Дата введения в действие:
01-01-18
Дата завершения срока действия:
-
Применение и описание
Область и условия применения:
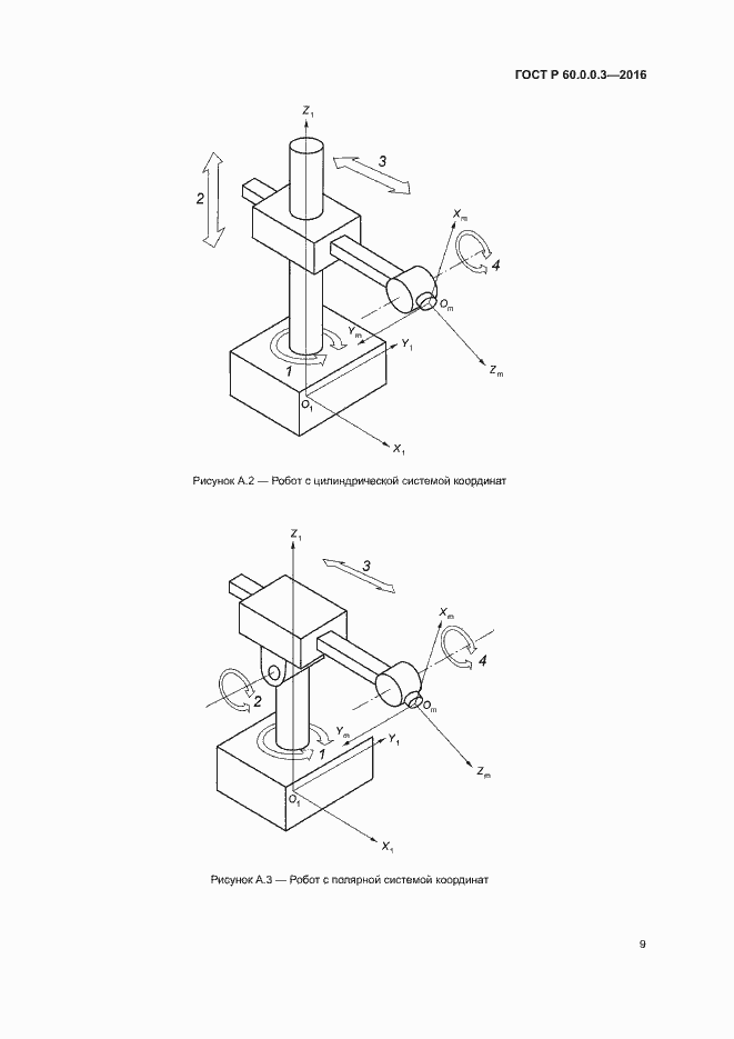
Настоящий стандарт определяет и устанавливает системы координат роботов. Он также определяет типы основных перемещений роботов, включая их обозначения. Он предназначен для настройки, тестирования и программирования роботов
Связи и замены
Заменяющий:
-
Описание стандарта
ГОСТ Р 60.0.0.3-2016 Роботы и робототехнические устройства. Системы координат и обозначение перемещений
Страницы стандарта















