ГОСТ Р 60.3.3.1-2016 Роботы промышленные манипуляционные. Рабочие характеристики и соответствующие методы тестирования
ГОСТ Р
Скачать ГОСТ в PDF или DOC бесплатно
Основная информация
Обозначение:
ГОСТ Р 60.3.3.1-2016
Статус:
Действует
Тип:
ГОСТ Р
Название русское:
Роботы промышленные манипуляционные. Рабочие характеристики и соответствующие методы тестирования
Название английское:
Manipulating industrial robots. Performance criteria and related test methods
Даты и сроки
Дата издания:
12-22-20
Дата введения в действие:
01-01-18
Дата завершения срока действия:
-
Применение и описание
Область и условия применения:
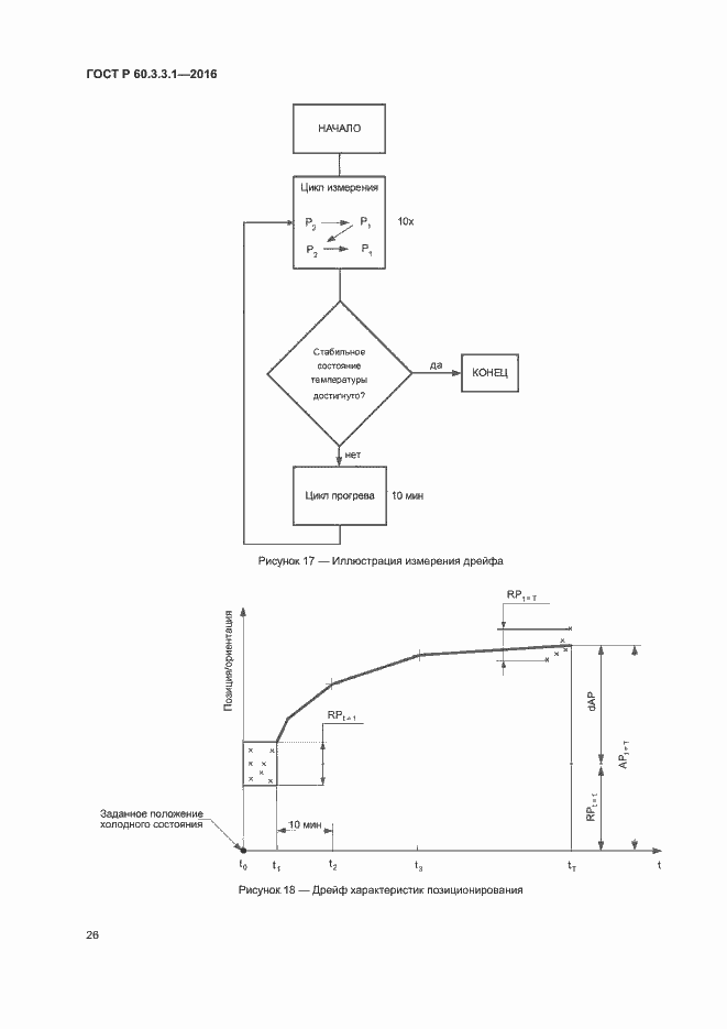
Настоящий стандарт описывает методы определения и тестирования следующих рабочих характеристик промышленных манипуляционных роботов: - точность позиционирования и повторяемость позиционирования; - разнонаправленное изменение точности позиционирования; - точность отработки расстояния и повторяемость отработки расстояния; - время стабилизации положения; - перерегулирование по положению; - дрейф характеристик позиционирования; - взаимозаменяемость; - точность отработки траектории и повторяемость отработки траектории; - точность отработки траектории при переориентации; - отклонения на поворотах; - характеристики скорости отработки траектории; - минимальное время позиционирования; - статическая податливость; - отклонения при поперечных перемещениях
Связи и замены
Заменяющий:
-
Описание стандарта
ГОСТ Р 60.3.3.1-2016 Роботы промышленные манипуляционные. Рабочие характеристики и соответствующие методы тестирования
Страницы стандарта





















































