ГОСТ Р МЭК 61003-1-2017 Системы управления промышленным процессом. Приборы с аналоговыми входами и выходами с двумя или несколькими устойчивыми состояниями. Часть 1. Методы оценки рабочих характеристик
ГОСТ Р МЭК
Скачать ГОСТ в PDF или DOC бесплатно
Основная информация
Обозначение:
ГОСТ Р МЭК 61003-1-2017
Статус:
Действует
Тип:
ГОСТ Р МЭК
Название русское:
Системы управления промышленным процессом. Приборы с аналоговыми входами и выходами с двумя или несколькими устойчивыми состояниями. Часть 1. Методы оценки рабочих характеристик
Название английское:
Industrial-process control systems. Instruments with analogue inputs and two- or multi-state outputs. Part 1. Methods of evaluating performance
Даты и сроки
Дата издания:
01-16-19
Дата введения в действие:
09-01-18
Дата завершения срока действия:
-
Применение и описание
Область и условия применения:
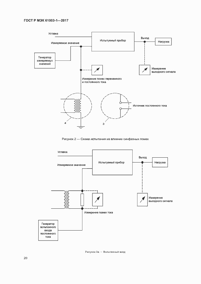
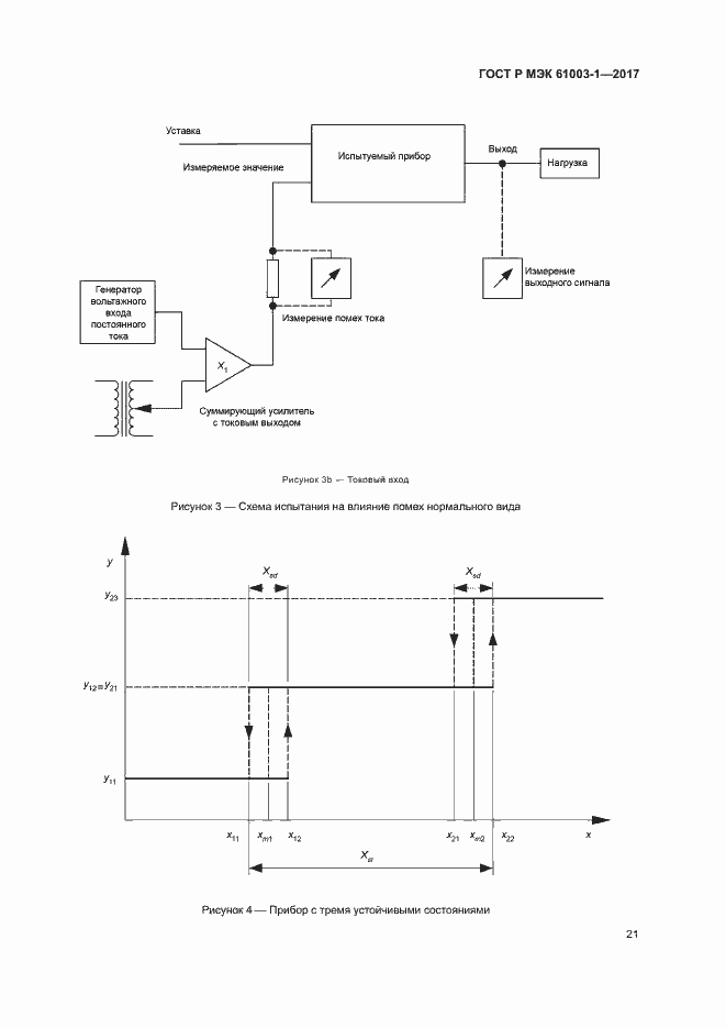
Настоящий стандарт применим к пневматическим и электрическим приборам для промышленных процессов, использующим измеряемые величины, которые являются непрерывными сигналами в соответствии с МЭК 60382 или МЭК 60381-1. Другим входным значением, то есть значением уставки, может быть механический (положение, сила и т. д.) или стандартный сигнал. Необходимо отметить, что испытания, приведенные в настоящем стандарте, могут применяться к приборам, которые имеют другие непрерывные измеряемые величины, если на такие различия имеется разрешение. Данные приборы могут применять в качестве контроллеров, переключателей для сигнализации или в других подобных целях. Настоящий стандарт не распространяется на приборы с обратной связью. Проблемы электронной безопасности могут оказывать влияние только на незначительное число изделий, попадающих под действие настоящего стандарта. Поэтому в настоящем стандарте таким проблемам безопасности внимание не уделяется. Настоящий стандарт предназначен для определения единообразных методов испытания при оценке рабочих характеристик приборов промышленных процессов с аналоговыми измеряемыми величинами и выходами с двумя или несколькими устойчивыми состояниями. Вопросы, не относящиеся к рабочим характеристикам, перечислены в разделе 10
Связи и замены
Заменяющий:
-
Описание стандарта
ГОСТ Р МЭК 61003-1-2017 Системы управления промышленным процессом. Приборы с аналоговыми входами и выходами с двумя или несколькими устойчивыми состояниями. Часть 1. Методы оценки рабочих характеристик
Страницы стандарта



























