ГОСТ Р ИСО/ТС 10303-1265-2017 Системы автоматизации производства и их интеграция. Представление данных об изделии и обмен этими данными. Часть 1265. Прикладной модуль. Конверт
ГОСТ Р ИСО/ТС
Скачать ГОСТ в PDF или DOC бесплатно
Основная информация
Обозначение:
ГОСТ Р ИСО/ТС 10303-1265-2017
Статус:
Действует
Тип:
ГОСТ Р ИСО/ТС
Название русское:
Системы автоматизации производства и их интеграция. Представление данных об изделии и обмен этими данными. Часть 1265. Прикладной модуль. Конверт
Название английское:
Industrial automation system and integration. Product data representation and exchange. Part 1265. Application module. Envelope
Даты и сроки
Дата издания:
04-27-20
Дата введения в действие:
07-01-19
Дата завершения срока действия:
-
Применение и описание
Область и условия применения:
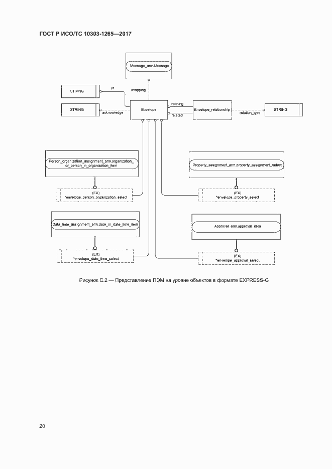
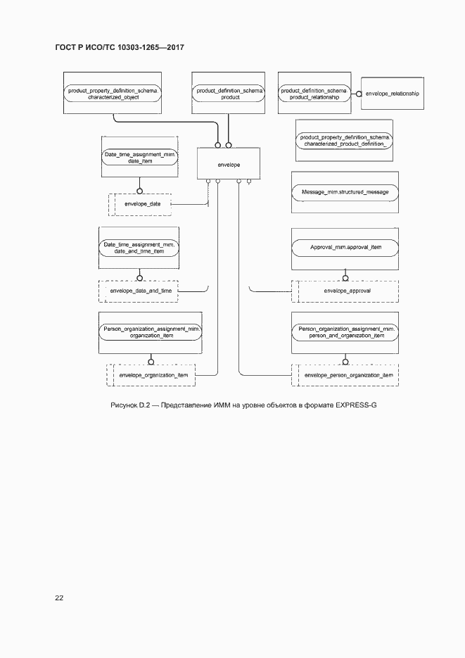
Настоящий стандарт определяет прикладной модуль «Конверт». В область применения настоящего стандарта входит: - обозначение отправителя конверта и даты отправки; - обозначение получателя конверта и даты получения; - разрешение на отправку конверта; - запрос на получение конверта и подтверждение получения; - связи конвертов друг с другом; - связь конверта с его свойствами
Связи и замены
Заменяющий:
-
Описание стандарта
ГОСТ Р ИСО/ТС 10303-1265-2017 Системы автоматизации производства и их интеграция. Представление данных об изделии и обмен этими данными. Часть 1265. Прикладной модуль. Конверт
Страницы стандарта































